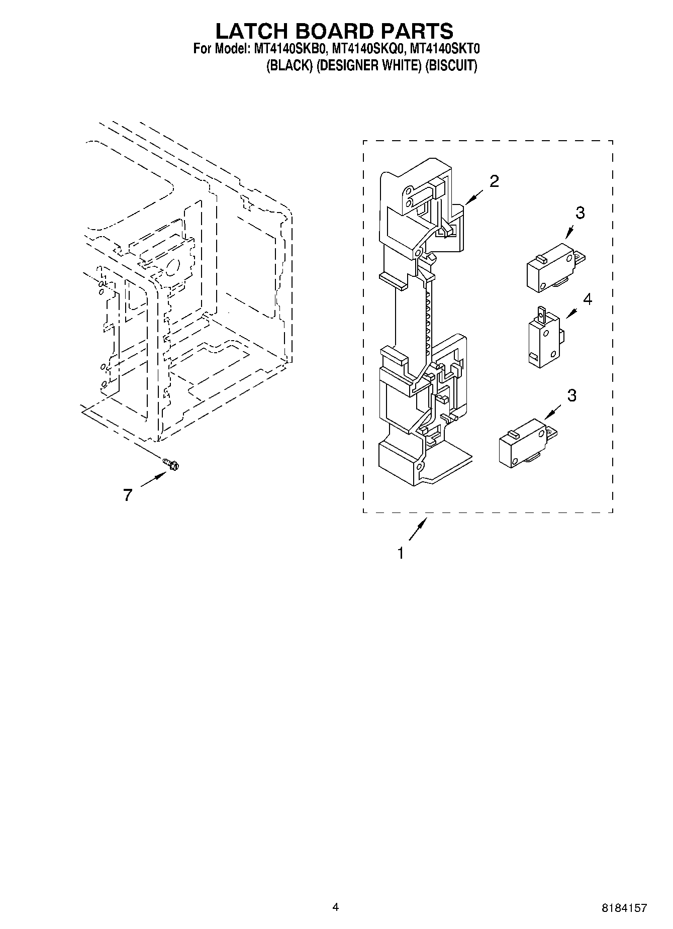
MT4140SKT0 04 – LATCH BOARDadmin2025-04-26T08:44:15+00:00MT4140SKT0 04 – LATCH BOARD ProductsPositionProduct1Latch Board Assembly (Non-Serviceable)2WP8185271 Whirlpool Microwave Mounting Bracket34392027 Whirlpool Microwave Primary Switch7Screw