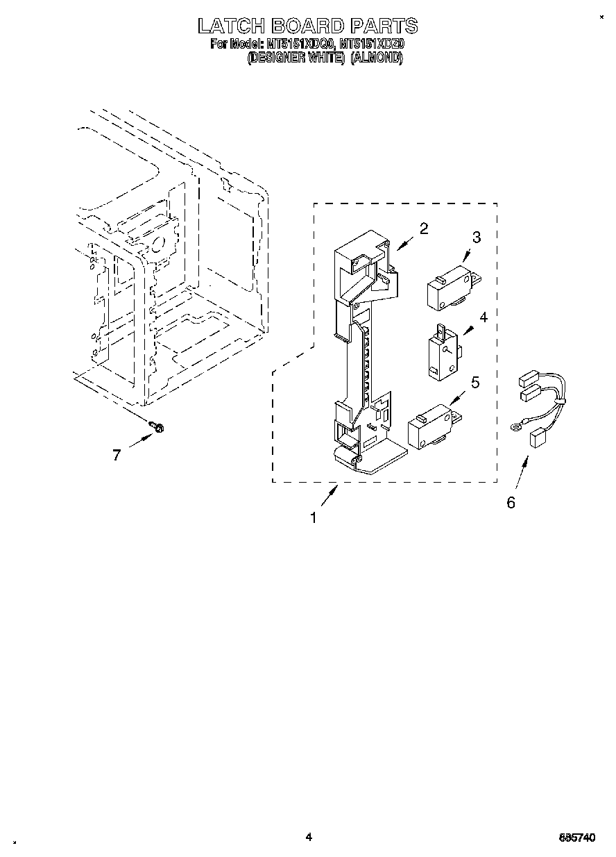
MT5151XDZ0 04 – LATCH BOARDadmin2025-04-26T08:44:11+00:00MT5151XDZ0 04 – LATCH BOARD ProductsPositionProduct1Latch Board Assembly (Not Serviceable)2WP8185271 Whirlpool Microwave Mounting Bracket34392027 Whirlpool Microwave Primary Switch6Leadwire Assembly7Screw