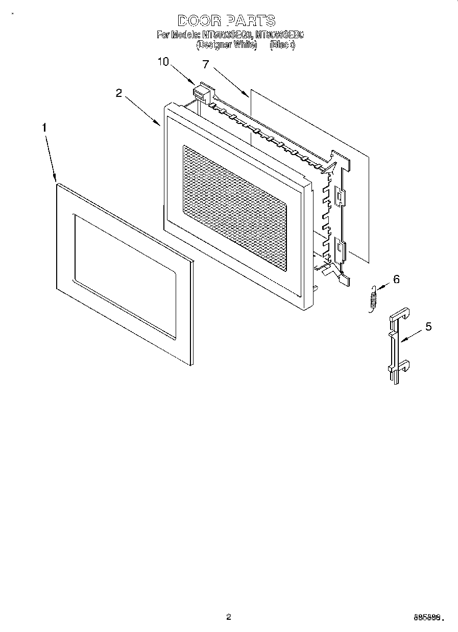
MT8066SEB0 02 – DOORadmin2025-04-26T08:44:36+00:00MT8066SEB0 02 – DOOR ProductsPositionProduct1Plate, Front (White)1Plate, Front (Black)2Door Body (White)2Door Body (Black)5Latch, Door6Spring7Film, Back10Frame, Door (White)10Frame, Door10Frame, Door (Black)