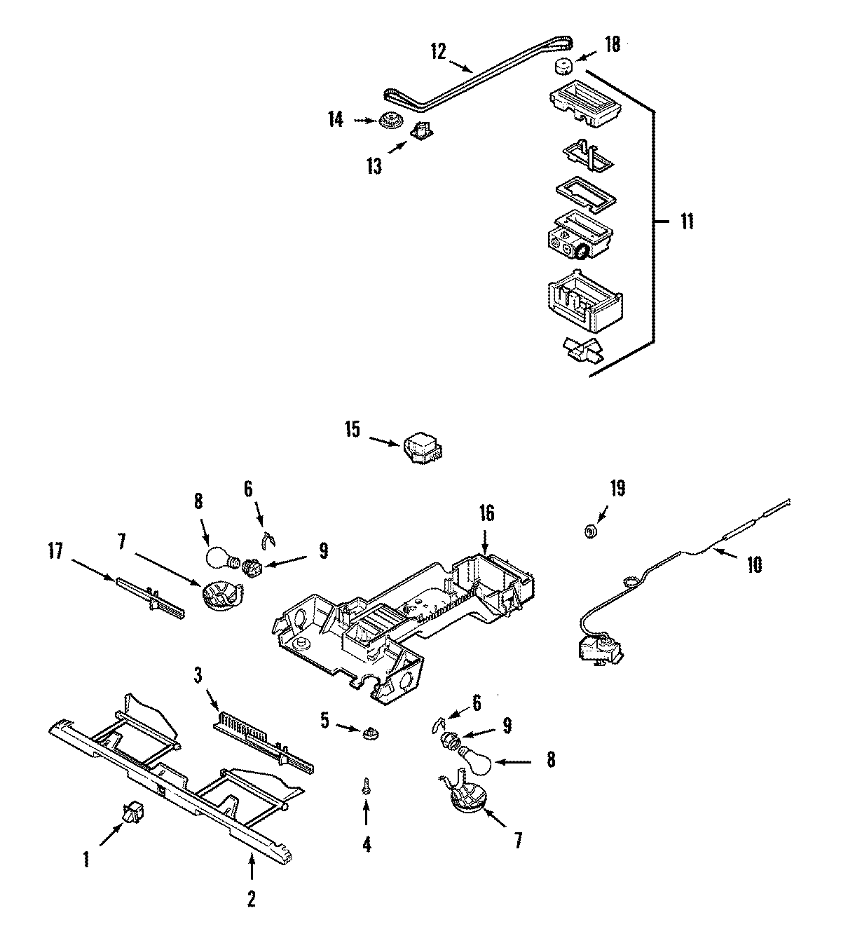
MTB1956FEQ 02 – CONTROLS