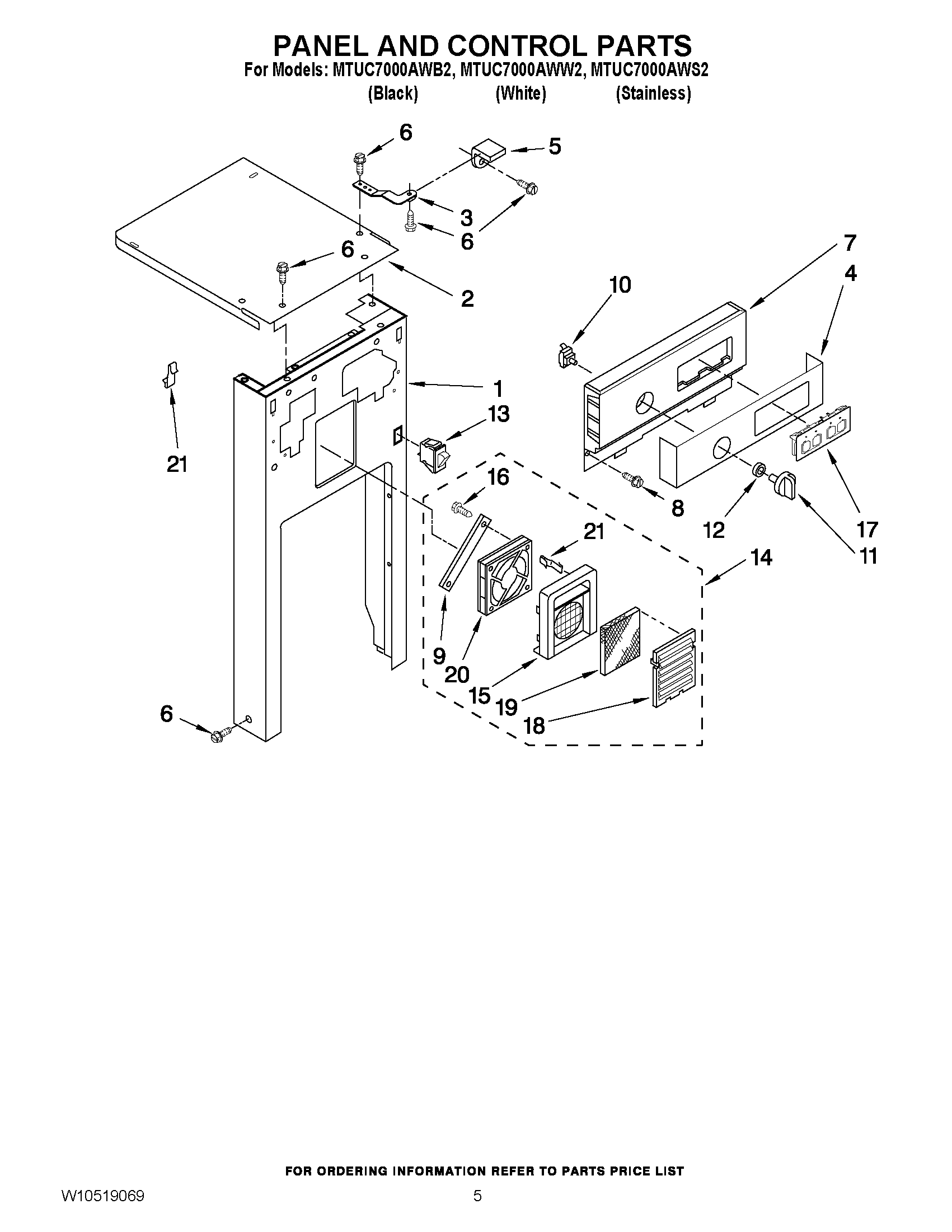
MTUC7000AWS2 05 – PANEL AND CONTROL PARTS