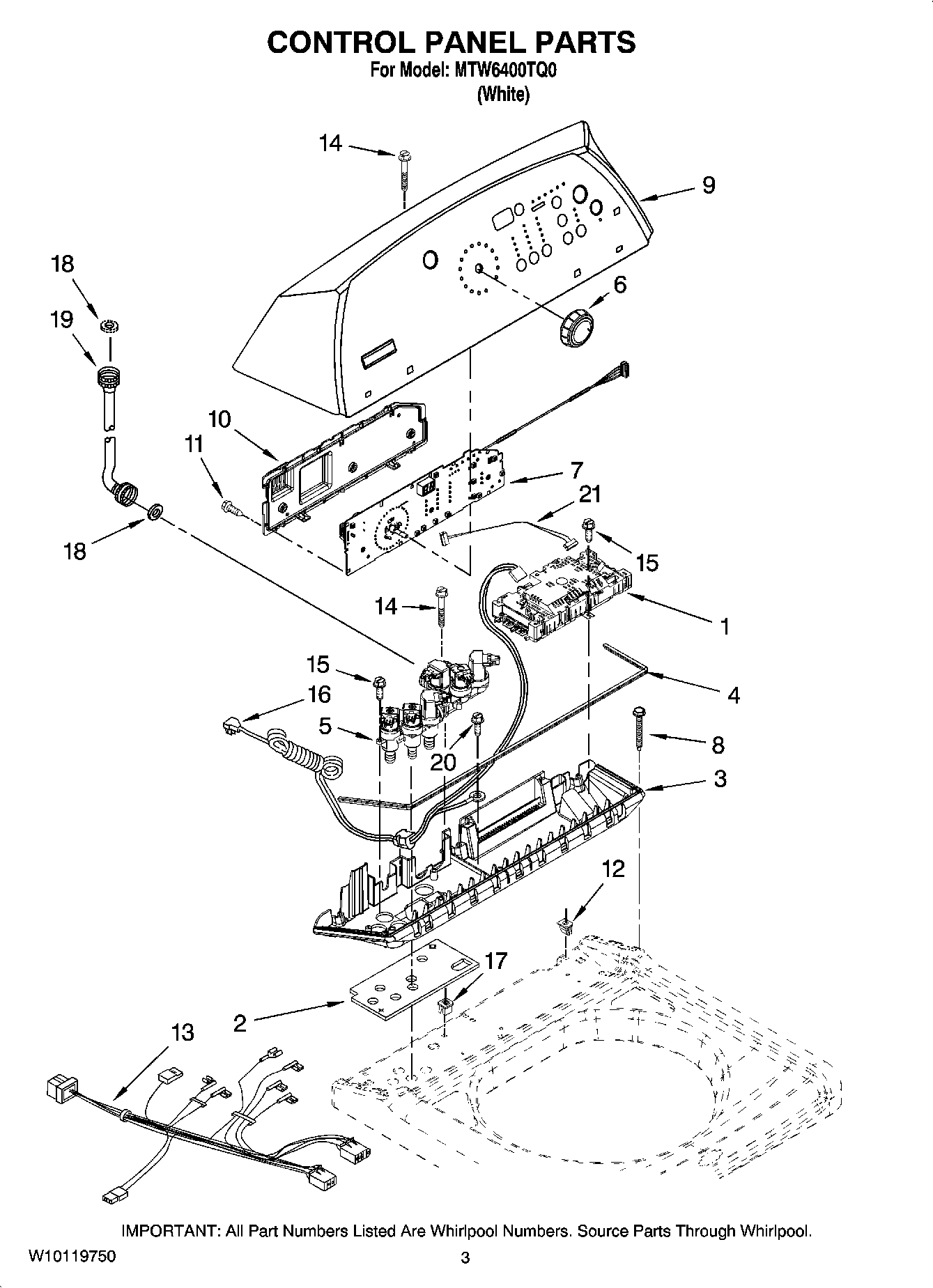
MTW6400TQ0 02 – CONTROL PANEL PARTSadmin2025-04-26T08:44:28+00:00MTW6400TQ0 02 – CONTROL PANEL PARTS ProductsPositionProduct1MAY W101121132MAY 85652603Tray Assembly, Console (Includes Items 2 & 4) (White)4MAY 85652595MAY W100593106MAY W101101967MAY W100510918SCREW9MAY W1009070710Cover, Rear11Screw, 6-19 x 3/6412NUT, PUSH IN13MAY W1004509014SCREW15SCREW16MAY 340720317NUT, PUSH-IN18ACCESSORY PARTS, WASHER, INLET HOSE19Hose, Water Inlet (2) (Blue Coupler)19Hose, Water Inlet (Hot Water)20MAY 48864921MAY 3407187