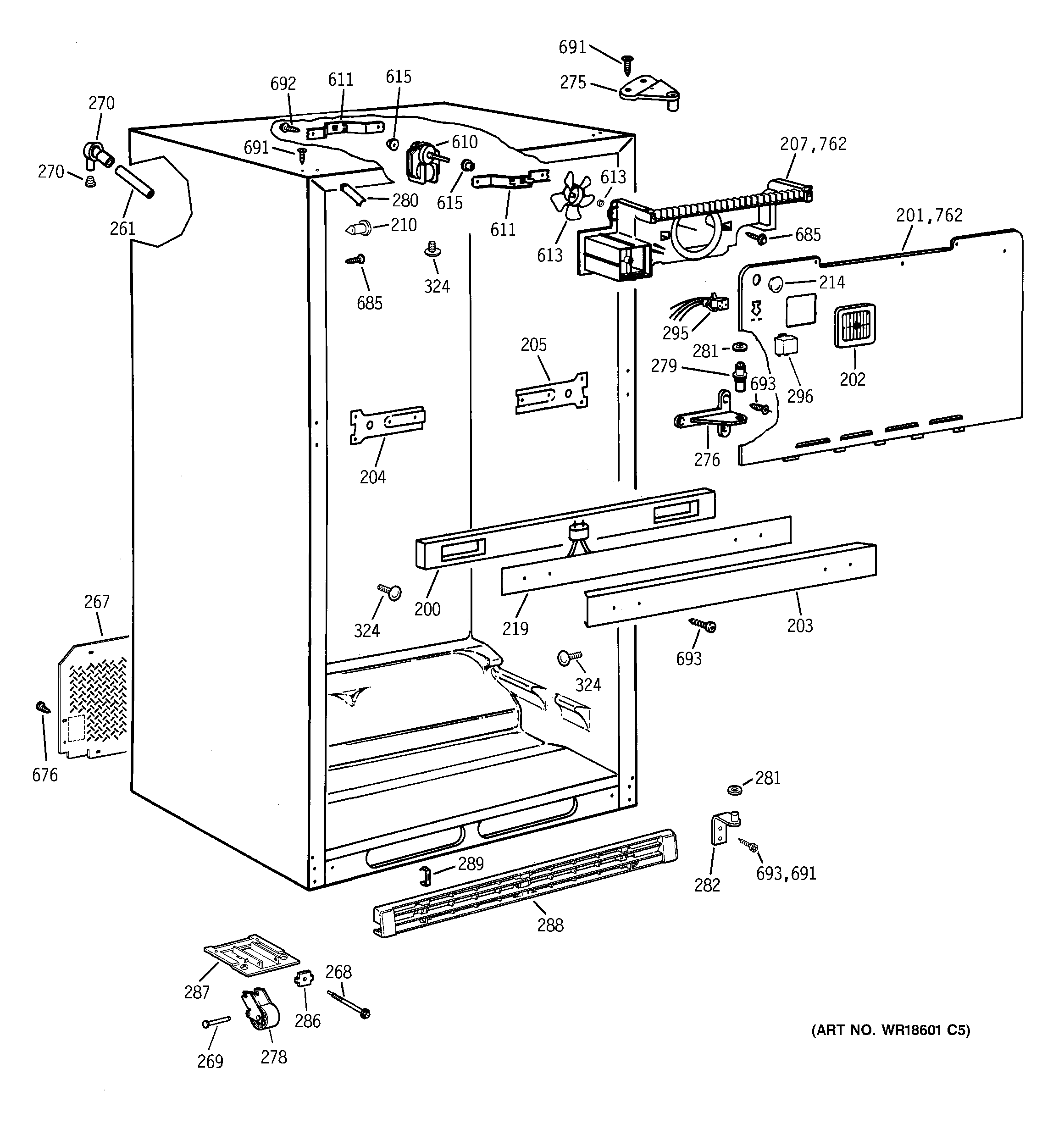
MTX18BABLRWW CABINET