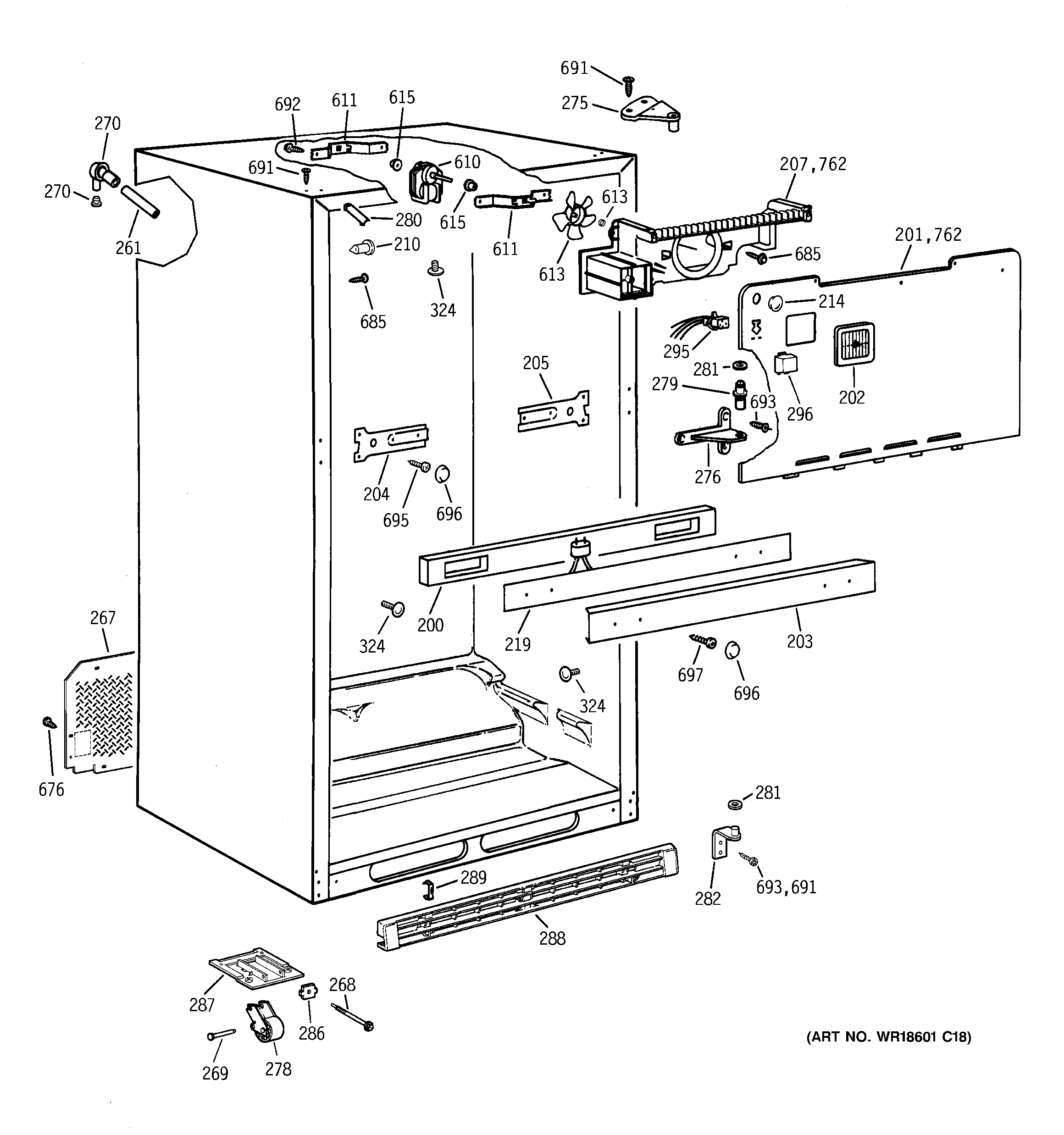
MTX18BABQRAA CABINET