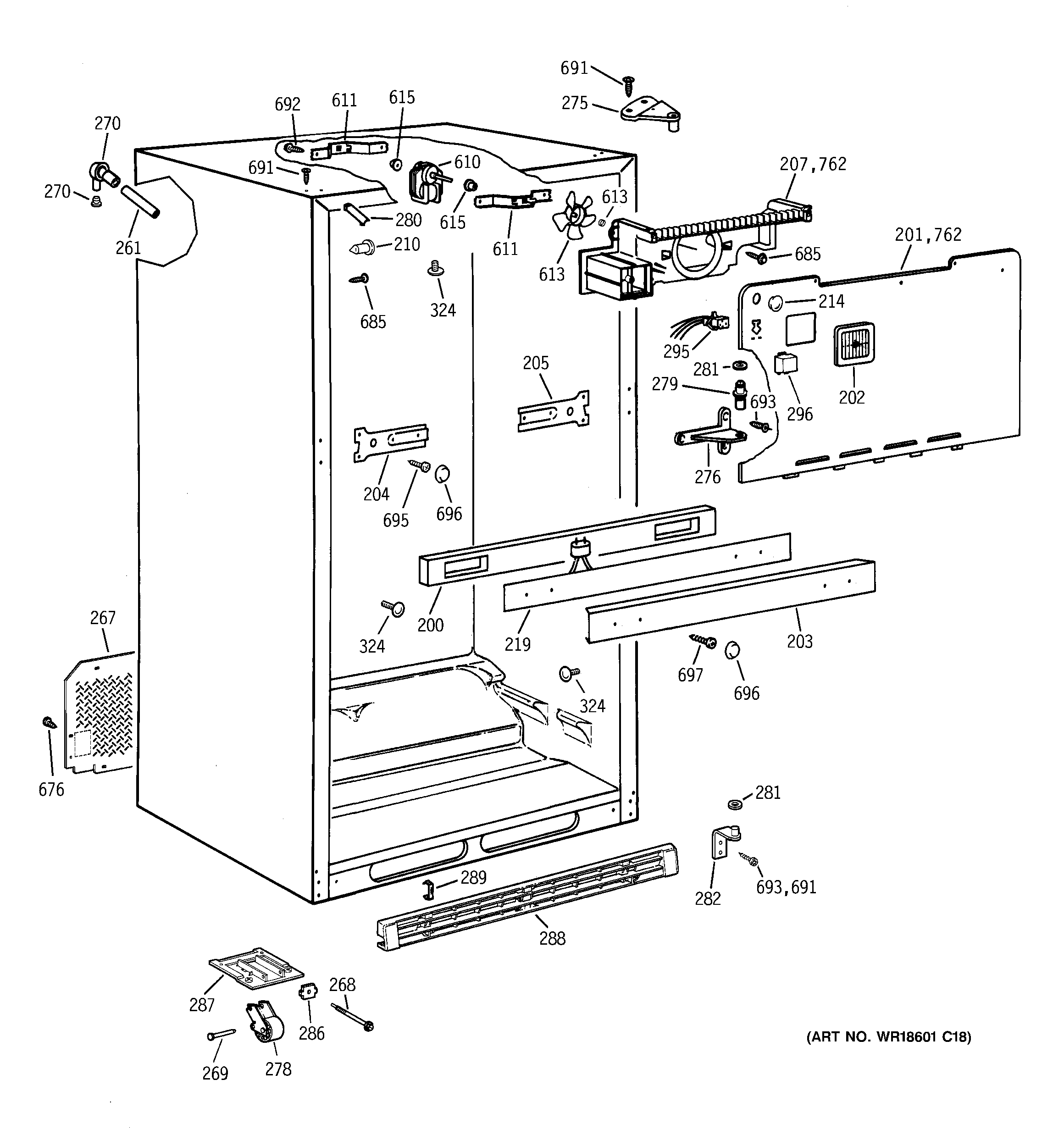
MTX18BABRRAA CABINET