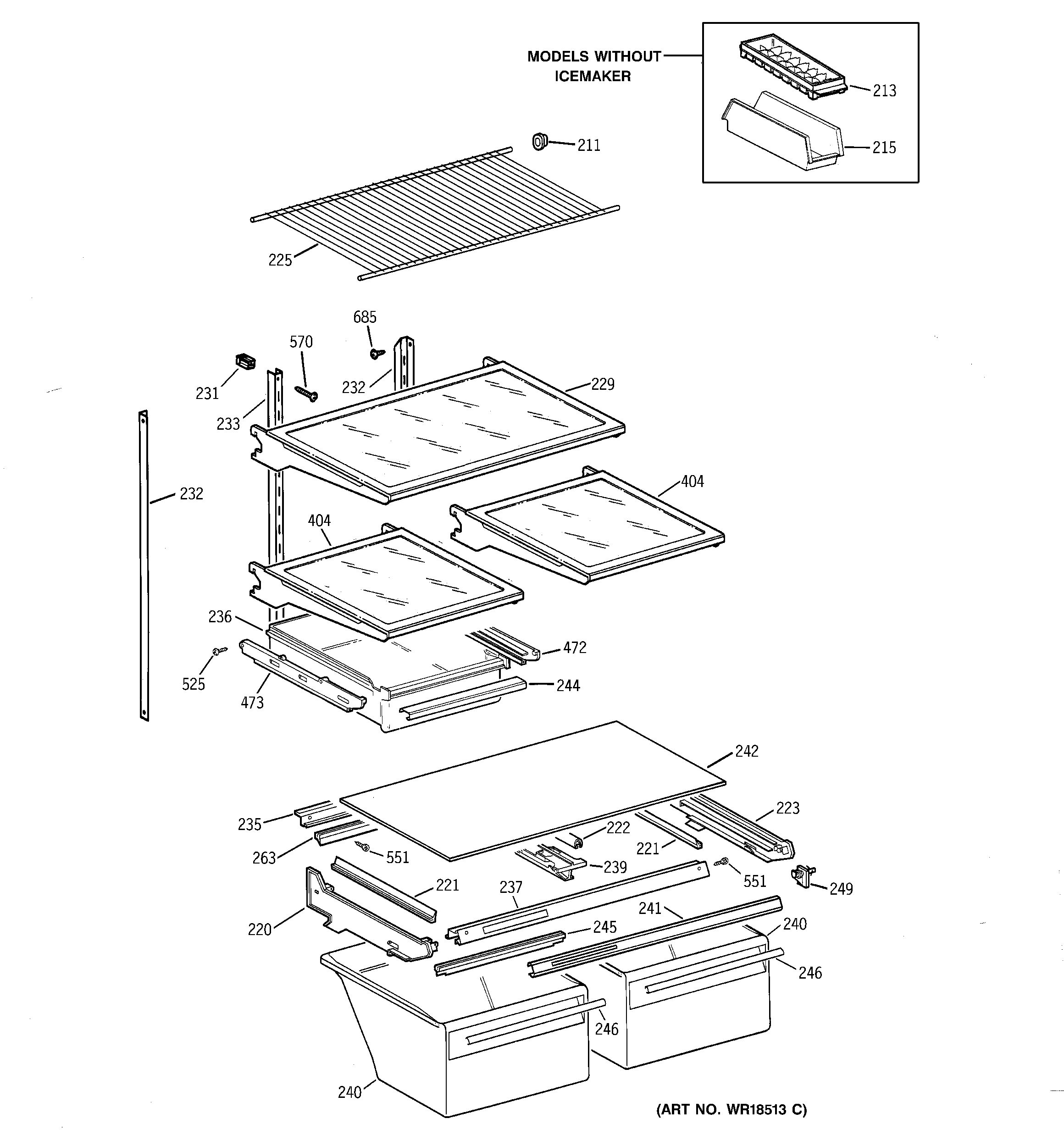
MTX18DABBRAA SHELF PARTS