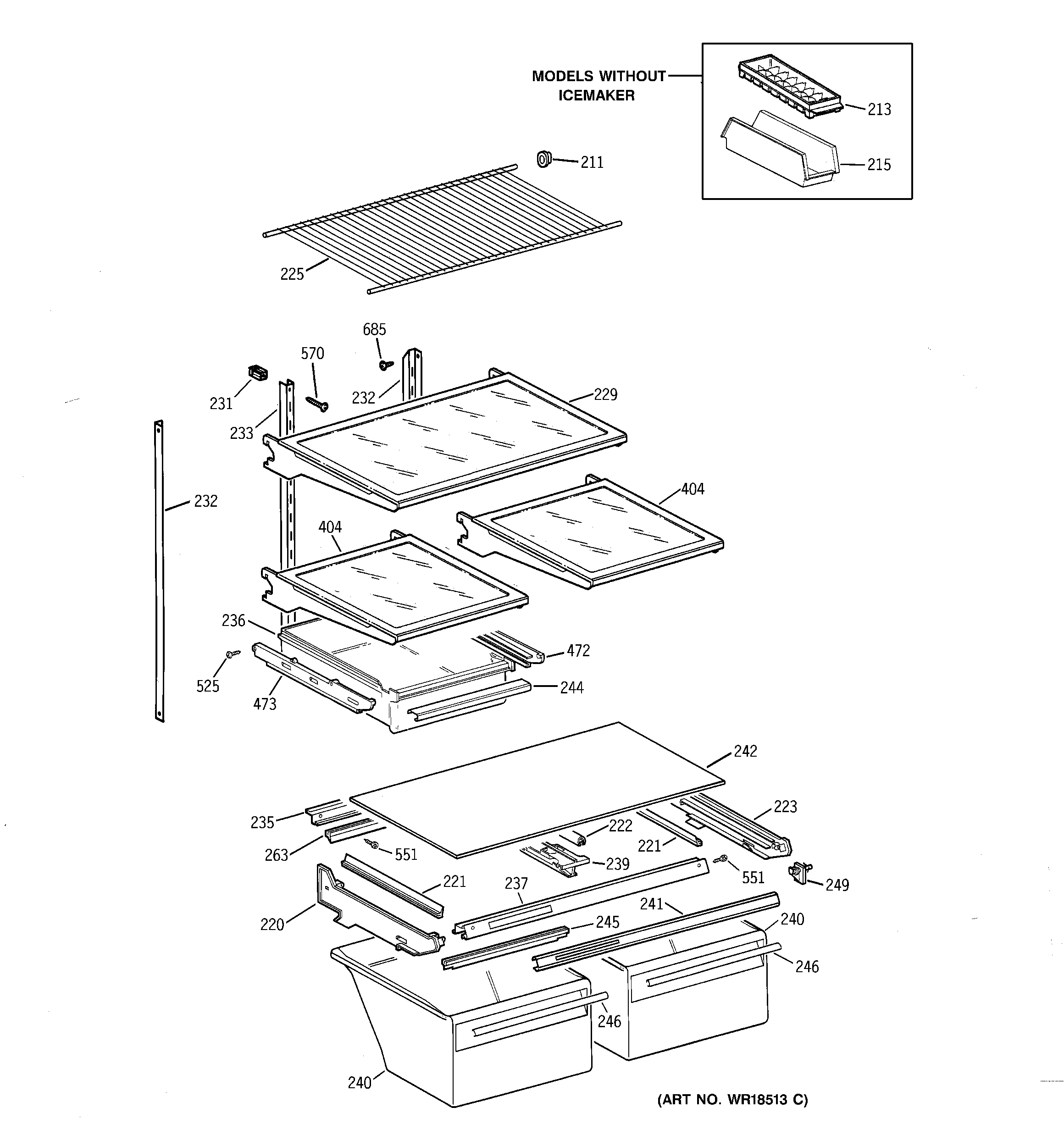
MTX18DABRRAA SHELF PARTS