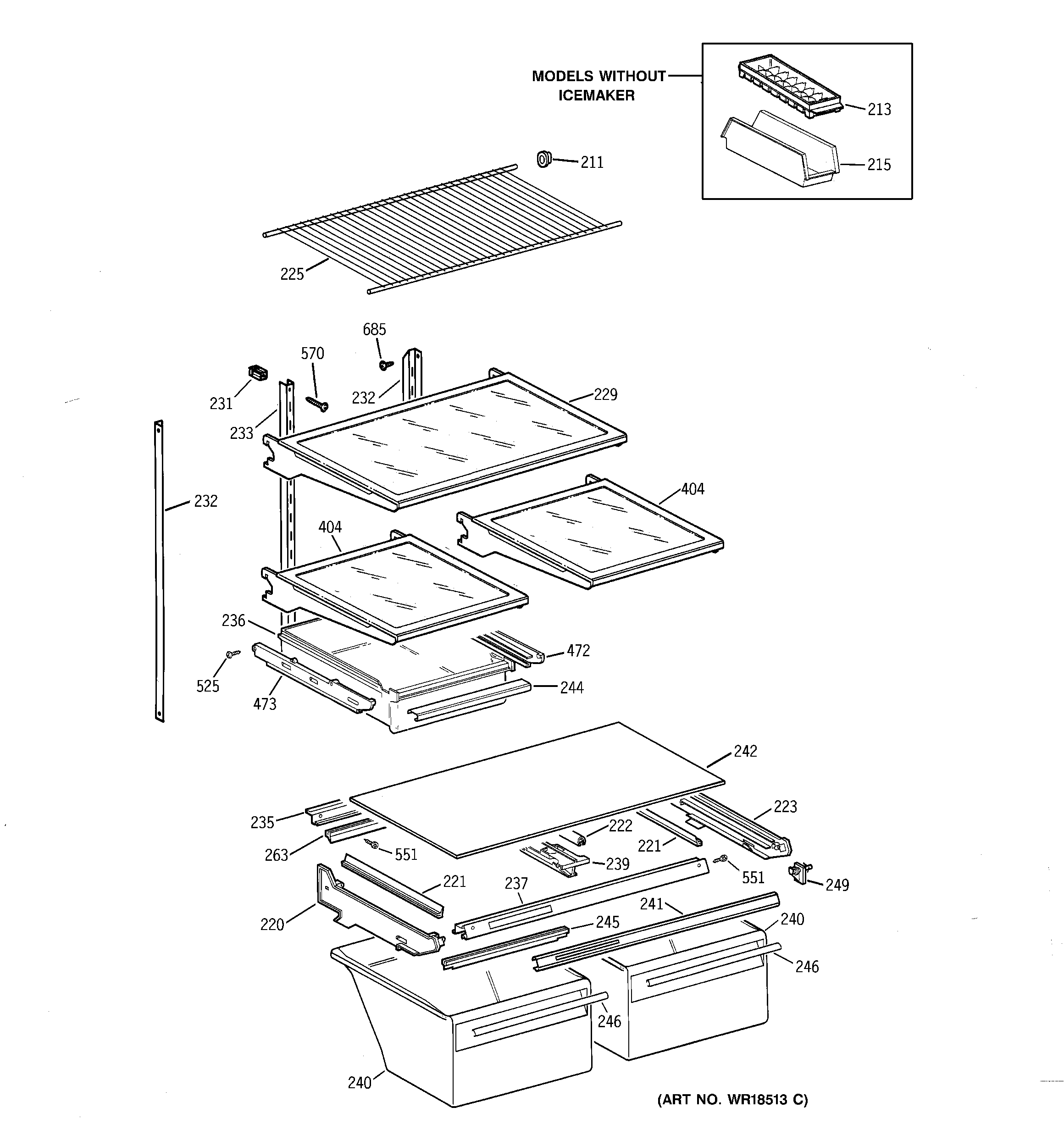
MTX21DABRRWW SHELF PARTS