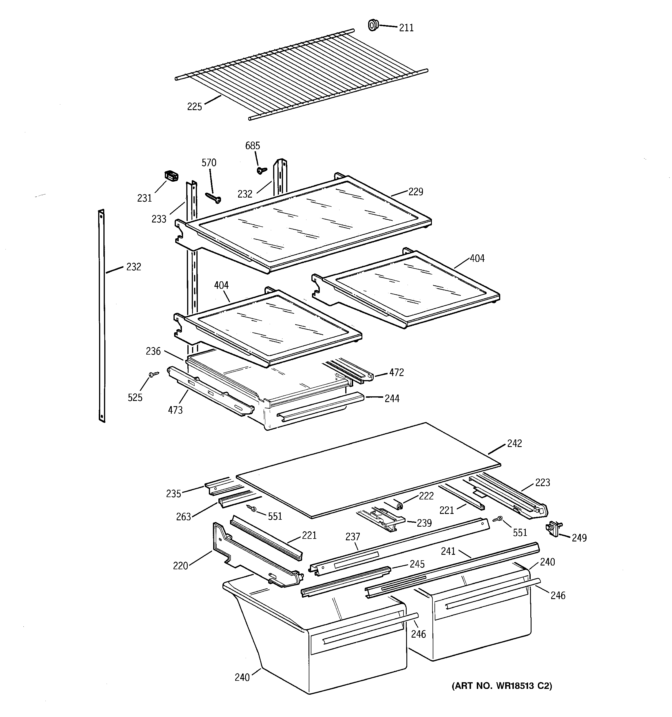
MTX21DIBRRWW SHELF PARTS