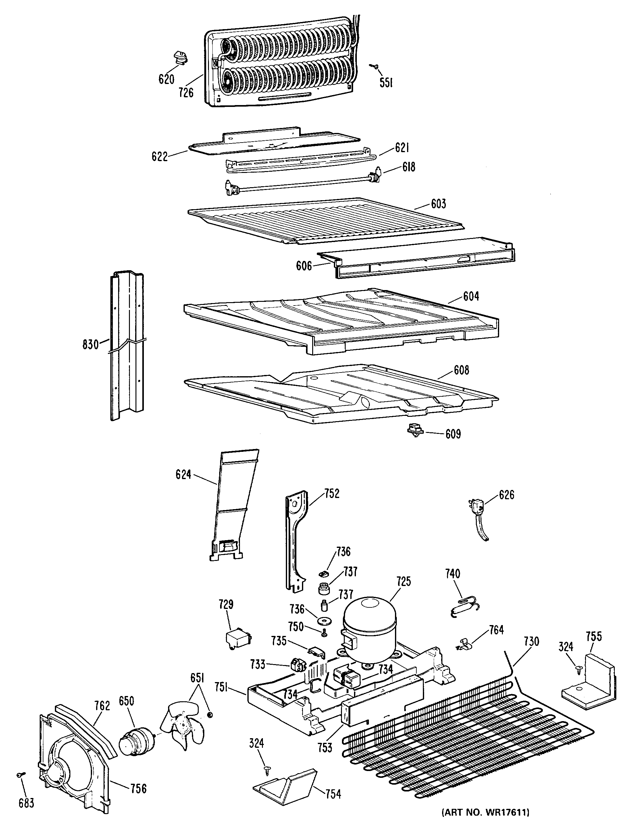
MTX21ELFRAD 2