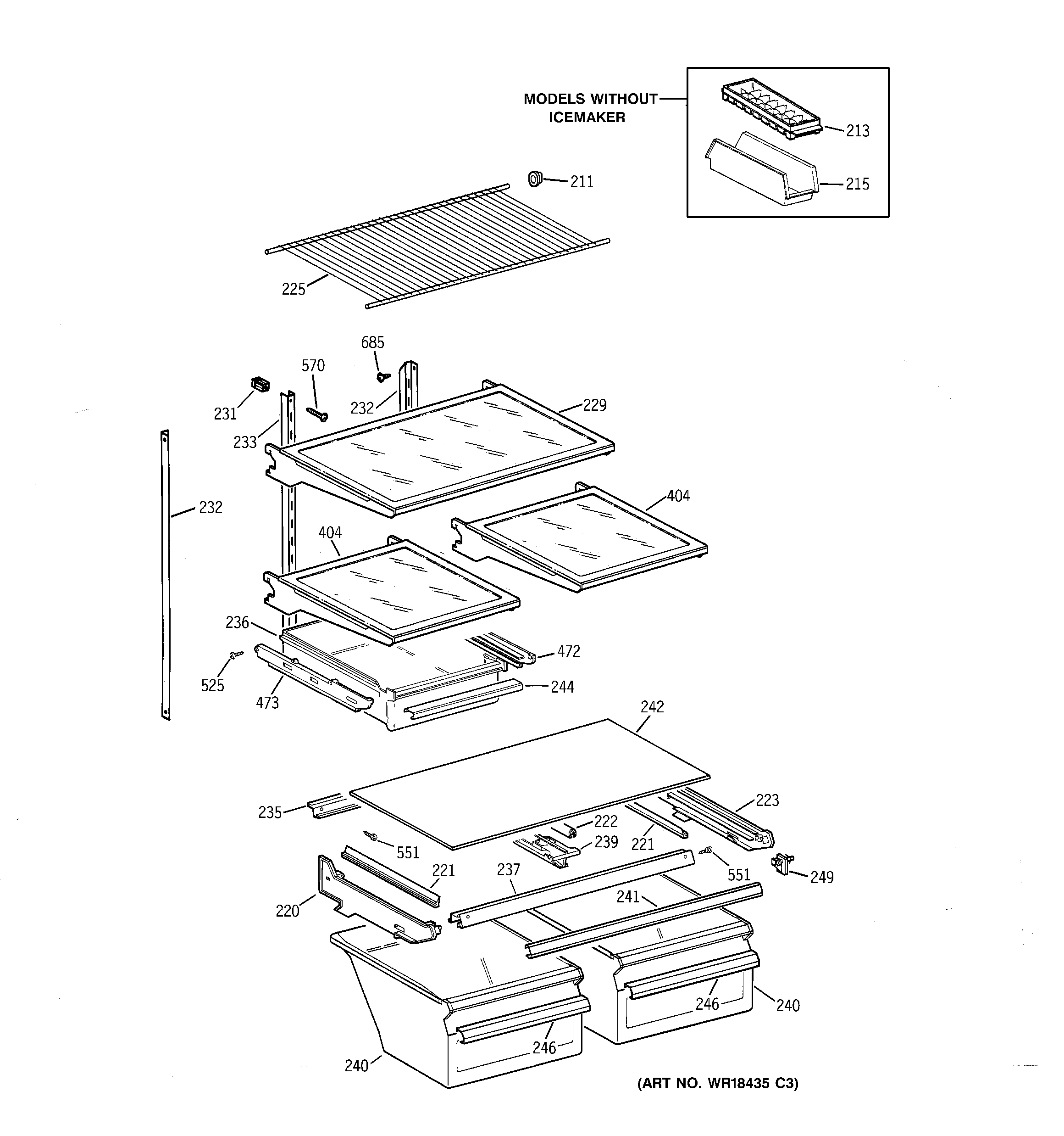
| 211 | GEN WR02X7973 |
| 213 | WR30X311 GE Refrigerator Ice Tray |
| 215 | GEN WR32X1560 |
| 220 | SLIDE VEG PAN LH |
| 221 | GEN WR14X0384 |
| 222 | GASKET SLIDE CTR VP |
| 223 | SLIDE VEG PAN RH |
| 225 | GEN WR71X2312 |
| 229 | GEN WR32X10009 |
| 231 | GEN WR02X7018 |
| 232 | GEN WR72X0096 |
| 233 | GEN WR72X0097 |
| 235 | GEN WR17X2798 |
| 236 | GEN WR32X1022 |
| 237 | GEN WR17X3288 |
| 239 | GEN WR17X2768 |
| 240 | GEN WR32X1141 |
| 241 | GEN WR17X10207 |
| 242 | GEN WR32X1510 |
| 244 | GEN WR38X10094 |
| 246 | GEN WR38X10089 |
| 249 | GEN WR02X8695 |
| 404 | GEN WR32X10010 |
| 472 | GEN WR72X0273 |
| 473 | GEN WR72X0274 |
| 525 | GEN WR01X1763 |
| 551 | GEN WZ04X0244 |
| 570 | WR01X10626 GE Refrigerator Screw 8-18 AB HXW 5/4 S |
| 685 | WR01X10606 GE Refrigerator Screw 8-18 CA HX 1/2 S |