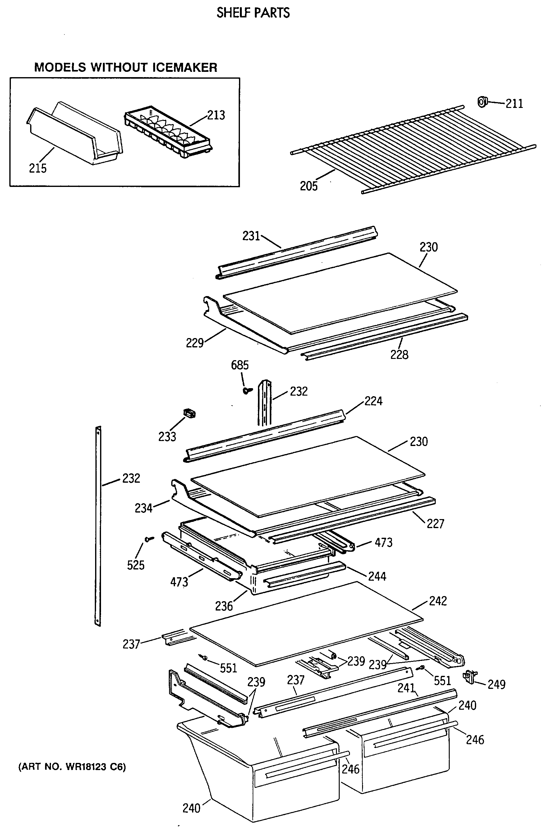
MTX21KAXDRAD SHELF PARTS