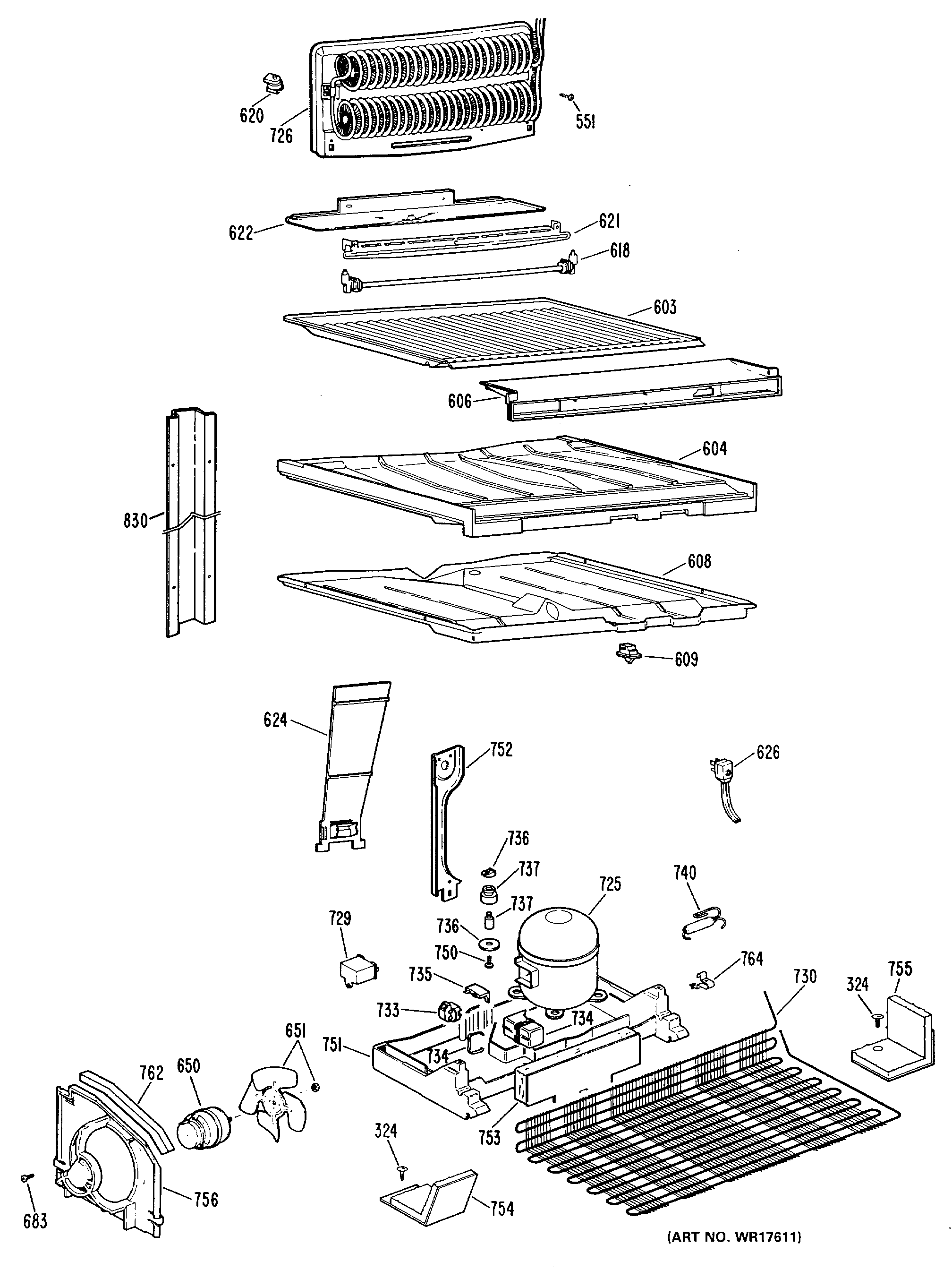
MTX22GLFRAD 2