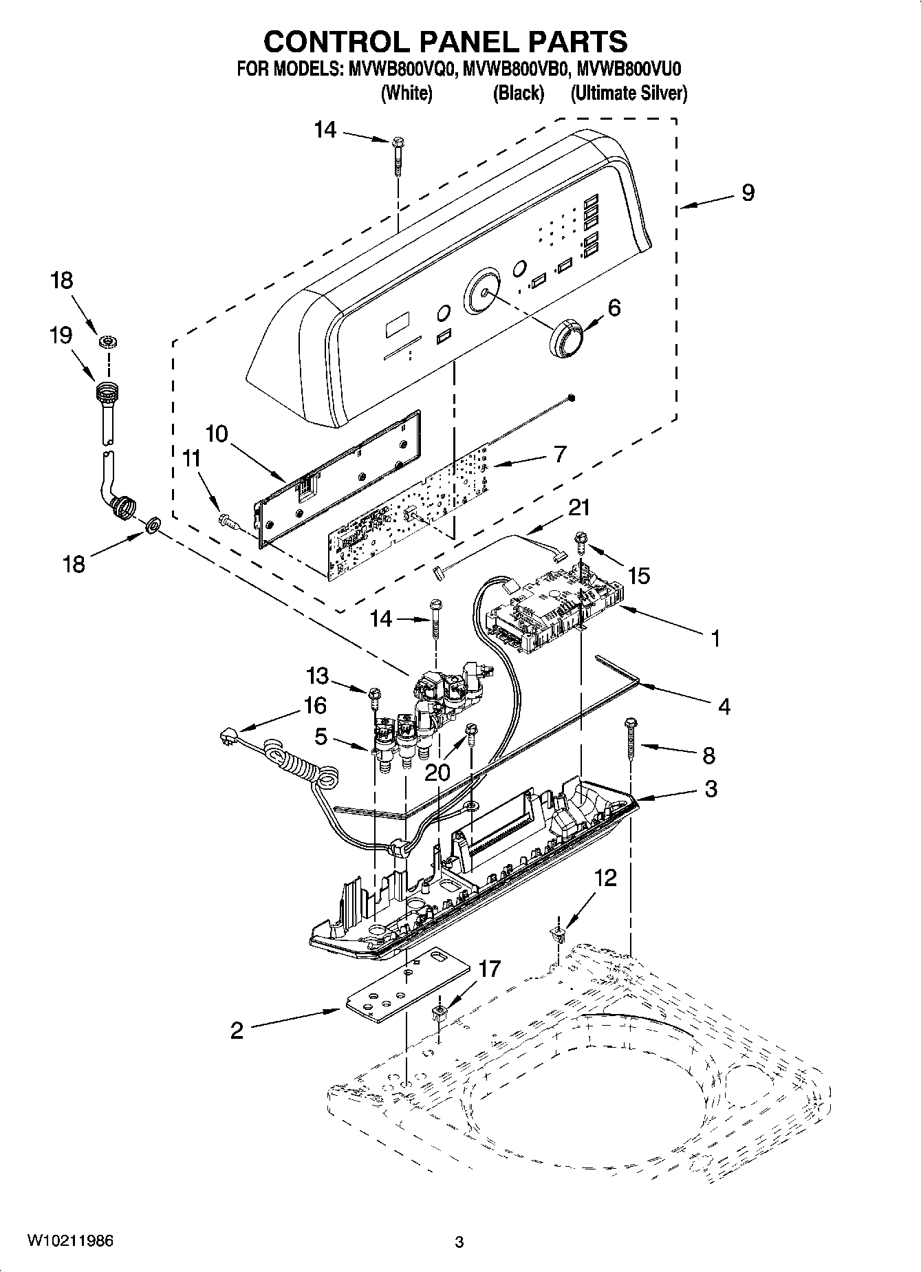
MVWB800VB0 02 – CONTROL PANEL PARTS