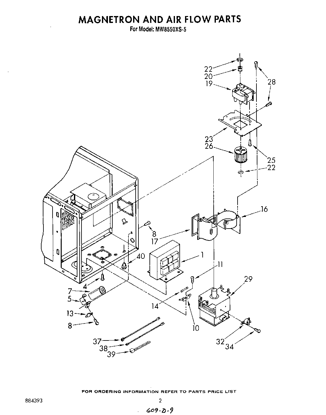
| 1 | Transformer |
| 4 | Screw, 10-32 x 1/2 Hex Washer W/Ground Ring (10) |
| 5 | Bracket, Capacitor |
| 7 | Capacitor |
| 8 | screw |
| 10 | Fuse Holder |
| 11 | Screw |
| 13 | Rectifier, High Voltage |
| 14 | Fuse (15 Amp) (Alt.) |
| 14 | Fuse (15 Amp) |
| 16 | Air Duct (Horizontal) |
| 17 | Seal, Air Duct |
| 19 | Transmotor |
| 20 | Pulley, Motor |
| 22 | ``E`` Ring |
| 23 | Bracket, Motor |
| 25 | WP486579 Whirlpool Air Conditioner Screw |
| 26 | Wheel, Blower |
| 28 | Screw, 11-16 x 1/2 Double Load Space Thread (5) |
| 29 | Magnetron |
| 29 | Magnetron (Alt.) |
| 32 | Thermal Protector |
| 34 | Screw, 6A x 3/8 (2) |
| 37 | Jumper, High Voltage Gray 8-11/16`` |
| 38 | Jumper, High Voltage Red (6-5/16``) |
| 39 | WPW10339879 Whirlpool Wire Tie |
| 40 | Harness, Wire (Main) |
| 40 | Foot, Base (4) |