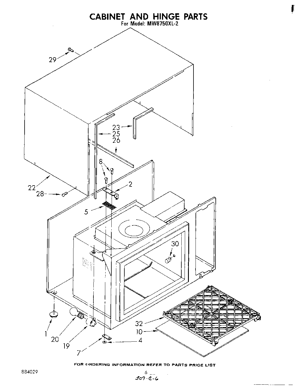
MW8750XL2 04 – CABINET AND HINGEadmin2025-04-26T12:46:35+00:00MW8750XL2 04 – CABINET AND HINGE
Products
| Position | Product |
|---|
| 1 | Foot, Base (4) |
| 2 | hinge door (bottom) |
| 2 | hinge door (top) |
| 4 | WPL 312147 |
| 5 | Hinge, Shim Locking (2) |
| 7 | Plate, Nut (2) |
| 8 | Screw, 12-24 x 3/4 (4) |
| 10 | Shelf, Microwave (Alt.) (Install W/Silastic No. 482338) |
| 10 | Shelf, Microwave (Alt.) |
| 10 | Base, Ceramic (Install W/Silastic No. 482338) |
| 19 | Socket, Snap-In |
| 20 | RANGE ONLY 40W 120V APPL BULB |
| 22 | Wrapper, Cabinet (Includes Illus. 23, 25 & 26) |
| 23 | Pilot Cup (3 Req) |
| 25 | WPL 308294 |
| 26 | WPL 308295 |
| 28 | Screw, 10A x 1/2 (2) (Black) |
| 29 | Main Chassis (Screw, 10-32 x 1/2) |
| 30 | Support, Shelf (4) |
| 32 | rack, oven |