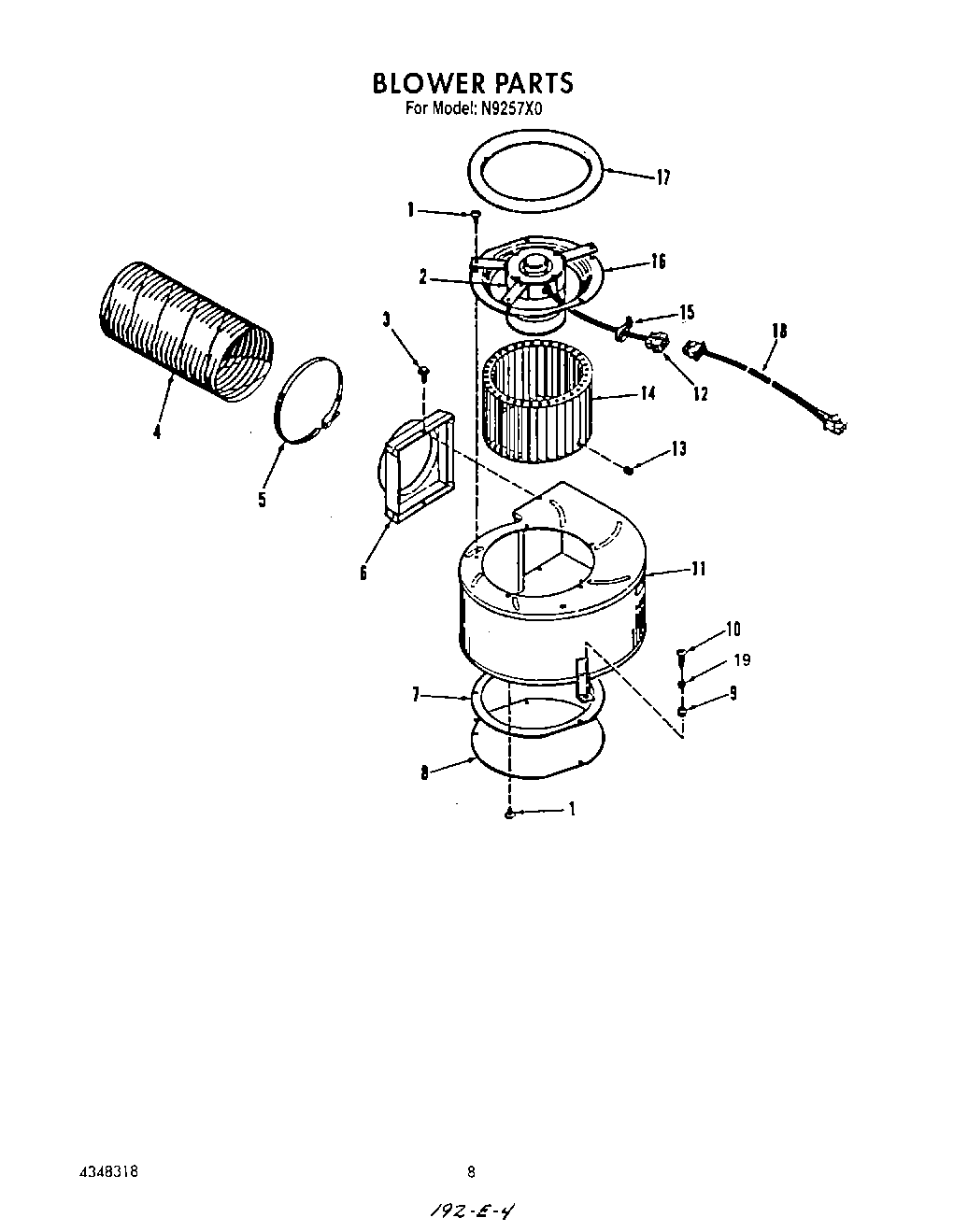
| 1 | Screw, No.8 x 3/8 |
| 2 | Motor |
| 3 | W10850756 Whirlpool Screw |
| 4 | Vent Tubing, Flexible |
| 5 | Clamp, Tube |
| 6 | Transition |
| 7 | Seal, Rear Cover |
| 8 | Cover, Rear |
| 9 | Grommet |
| 10 | Screw No.10 x 3/4 |
| 11 | Housing, Blower |
| 12 | Disconnect |
| 13 | Screw, Set, 5/16 No.24 x 3/8 |
| 14 | Wheel, Blower |
| 15 | Clamp, Wire |
| 16 | Ring, Inlet |
| 17 | Gasket, Blower |
| 18 | Harness, Wire |
| 19 | Eyelet |