N9257X1 06 – OVEN DOORadmin2025-04-26T12:45:34+00:00N9257X1 06 – OVEN DOOR
Products
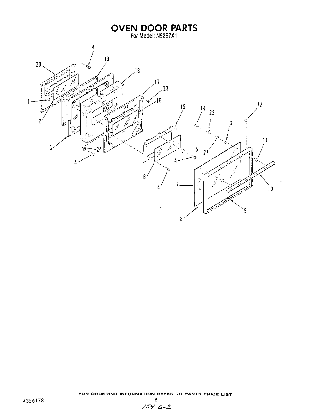
| Position | Product |
|---|
| 1 | Seal, Inner Glass |
| 2 | Glass-Inner |
| 3 | Lining, Oven Door |
| 4 | SCREW |
| 6 | Glass, Intermediate |
| 7 | Glass, Outer Oven Door |
| 8 | Cushion |
| 9 | Frame, Oven Door |
| 10 | Handle, Door |
| 11 | Spacer, Dr. Handle |
| 12 | Screw No.10-32x1/2 |
| 13 | Washer, Fiber |
| 14 | Screw, No.10-32 x 3/4 |
| 15 | Mounting Plate |
| 16 | Glass, Center |
| 17 | Retainer, Insulation |
| 18 | Insulation, |
| 19 | Gasket, Door |
| 20 | Plug, Door Lining |
| 21 | Spacer, Glass Door |
| 22 | Retainer |
| 23 | Washer, Felt |
| 24 | Retainer, Glass |