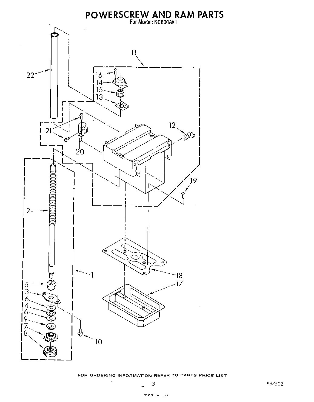
NC800AV1 03 – POWERSCREW AND RAMadmin2025-04-26T12:47:22+00:00NC800AV1 03 – POWERSCREW AND RAM ProductsPositionProduct1Screw, Power Complete Assembly (2)2Cabinet (Not A Serviceable Part)3779121 Whirlpool Compactor Plate4W10917043 Whirlpool Compactor Bearing5776941 Whirlpool Compactor Power Crew Hub6775481 Whirlpool Compactor Bearing7SPROCKET84154842 Whirlpool Compactor Nut9WP777332 Whirlpool Compactor Washer10Screw, 1/4-20 x 3/4 (4)11Ram Assembly12Pad, Ram (8)13Plate, Doubler (2)14Retainer, Nut (2)15WP777533 Whirlpool Trash Compactor Power Nut16WP3351614 Whirlpool Screw17Cover, Ram18Wiper, Ram19SCREW20Block, Container Stop21WP90767 Whirlpool Screw22Protector, Powerscrew (2)