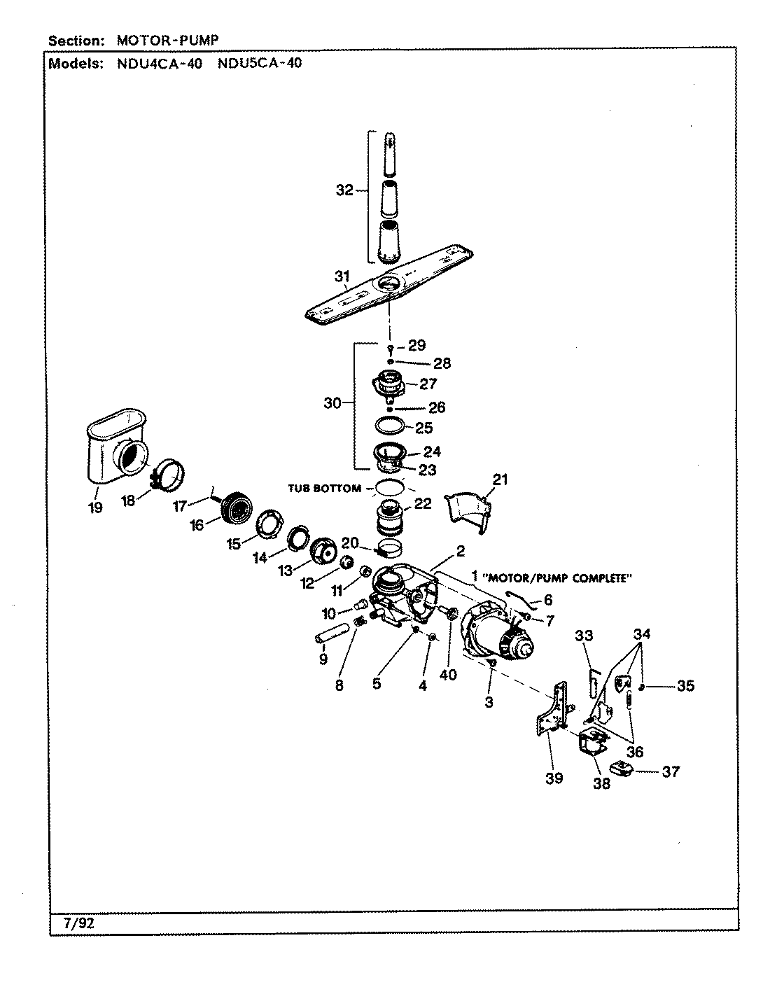
NDU5CA-40 03 – MOTOR