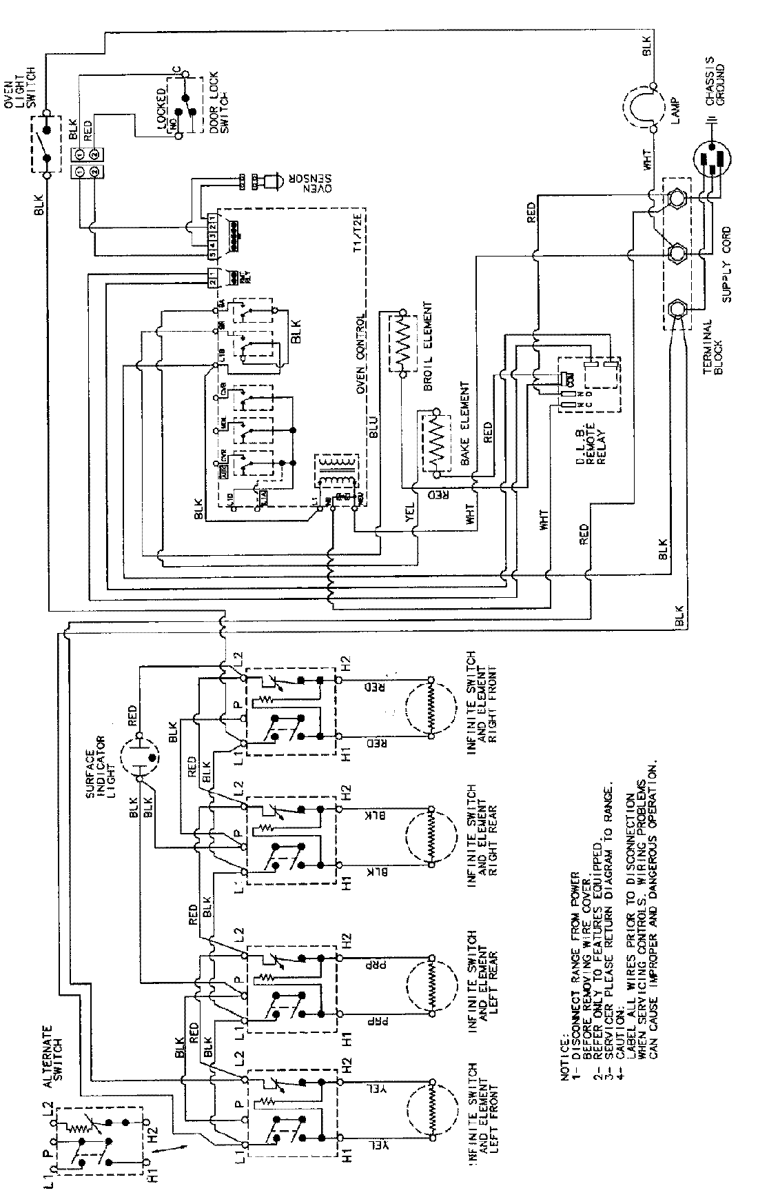
NER3540ACW 06 – WIRING INFORMATIONadmin2025-04-26T11:33:50+00:00NER3540ACW 06 – WIRING INFORMATION ProductsPositionProductNIMAY 15002233