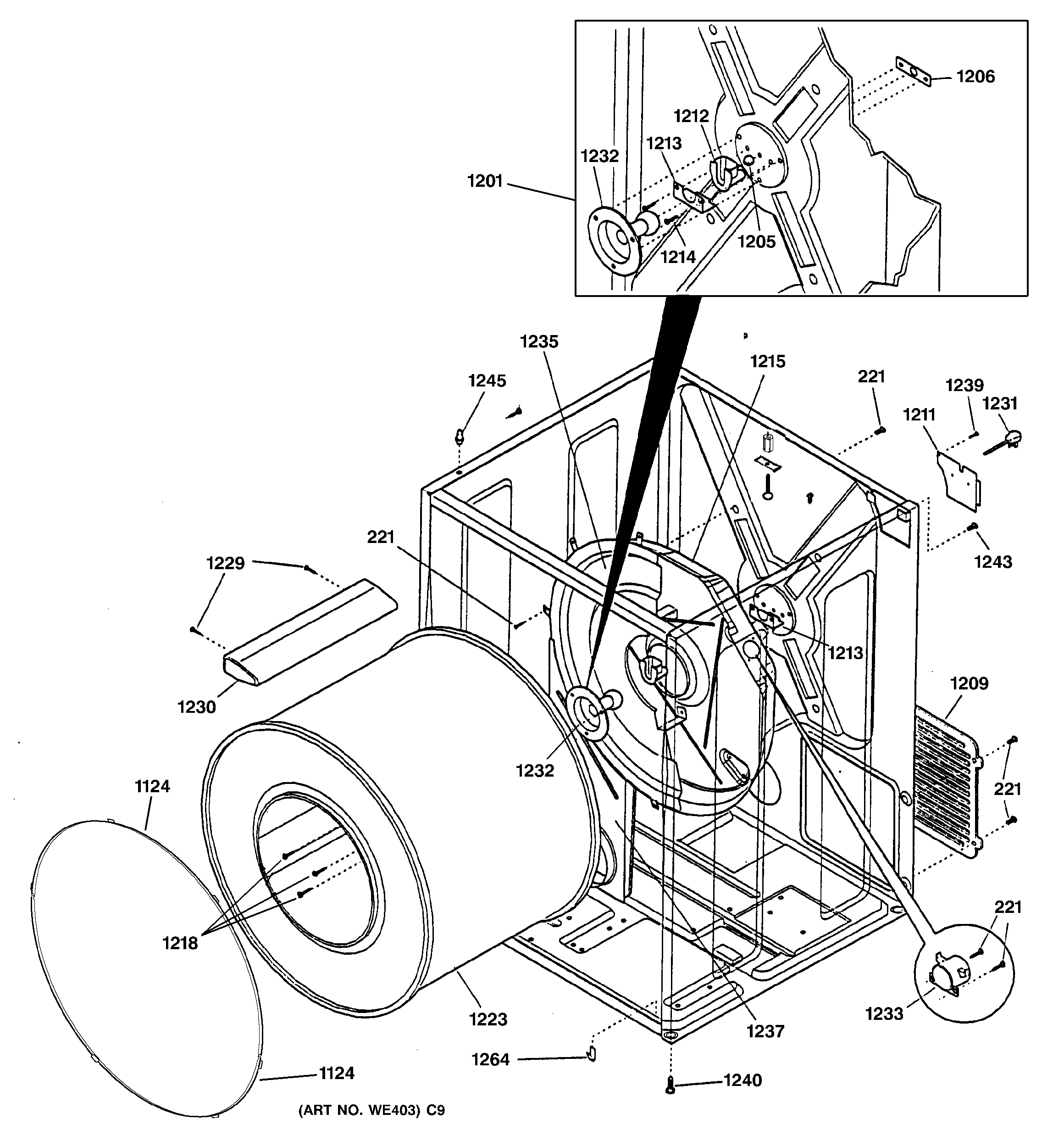
NVL333GB8CC CABINET & DRUM
Products
| Position | Product |
|---|---|
| 221 | SCREW PAN HD.8-18ABX.375 |
| 1124 | WE03X10007 GE Bearing |
| 1201 | WE25X10001 GE Rear Bearing Kit |
| 1205 | GEN WE01X1152 |
| 1206 | CLIP BALL |
| 1209 | PANEL-ACCESS |
| 1211 | GEN WE20X10004 |
| 1212 | GEN WE03X10002 |
| 1213 | BRACKET BEARING |
| 1214 | GEN WE02X10005 |
| 1215 | HEATER HOUSING - GAS |
| 1218 | SCREW 10-16 X.375 |
| 1223 | GEN WE21X10013 |
| 1229 | GEN WE02X10007 |
| 1230 | GEN WE21X0069 |
| 1231 | GEN WE08X10044 |
| 1232 | WE13X10011 GE Washer Rear Bearing Shaft Support |
| 1233 | THERMOSTAT - SAFETY |
| 1235 | GEN WE01X10158 |
| 1237 | GEN WE14X10026 |
| 1239 | WE02X10011 GE Screw |
| 1240 | WR2X9485 GE Refrigerator Foot Adjustment |
| 1243 | GEN WE02X10057 |
| 1245 | GEN WE01X10035 |
| 1264 | CLIP CABINET BTM |