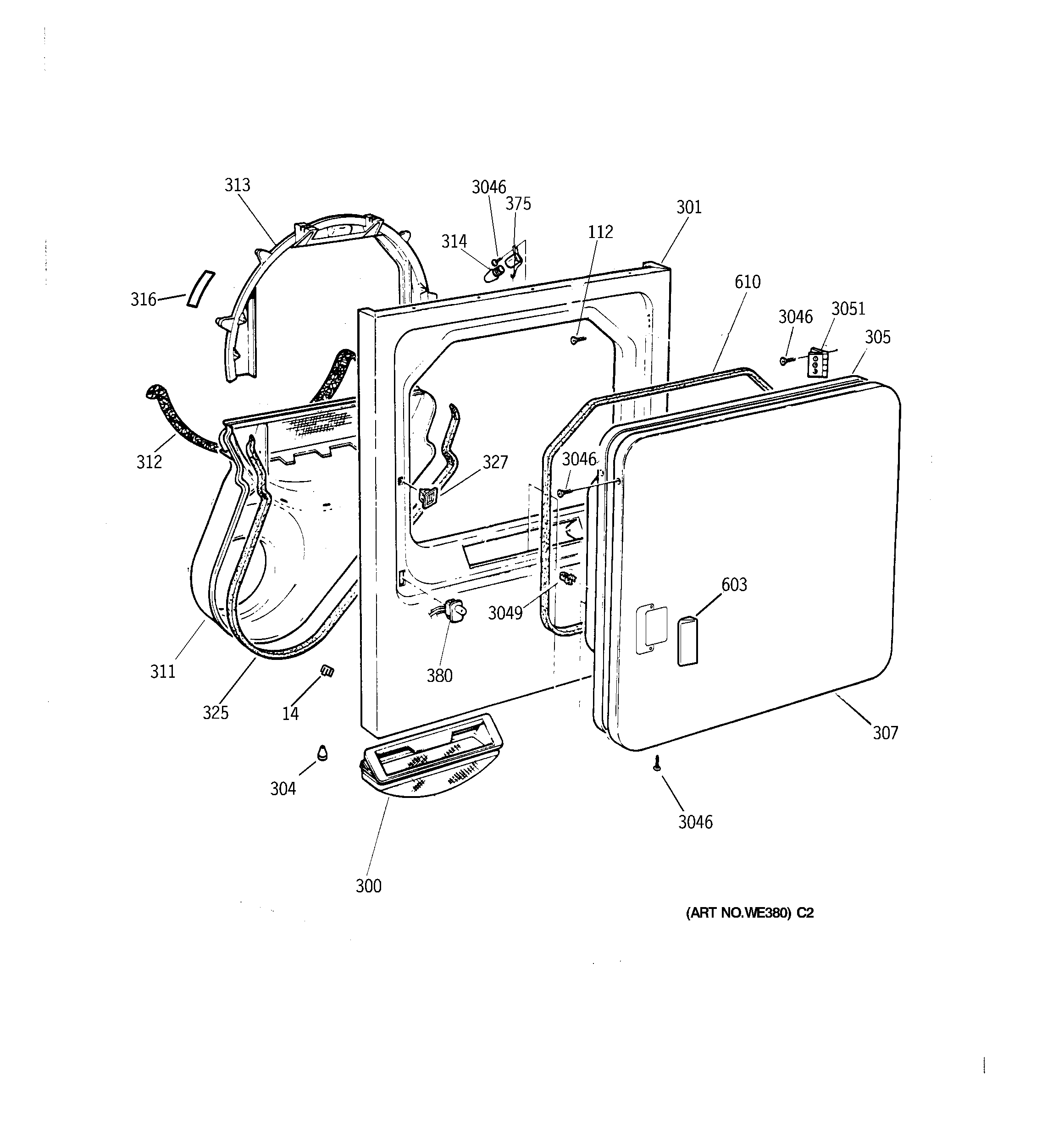
NWXR473GV2AA FRONT PANEL & DOOR