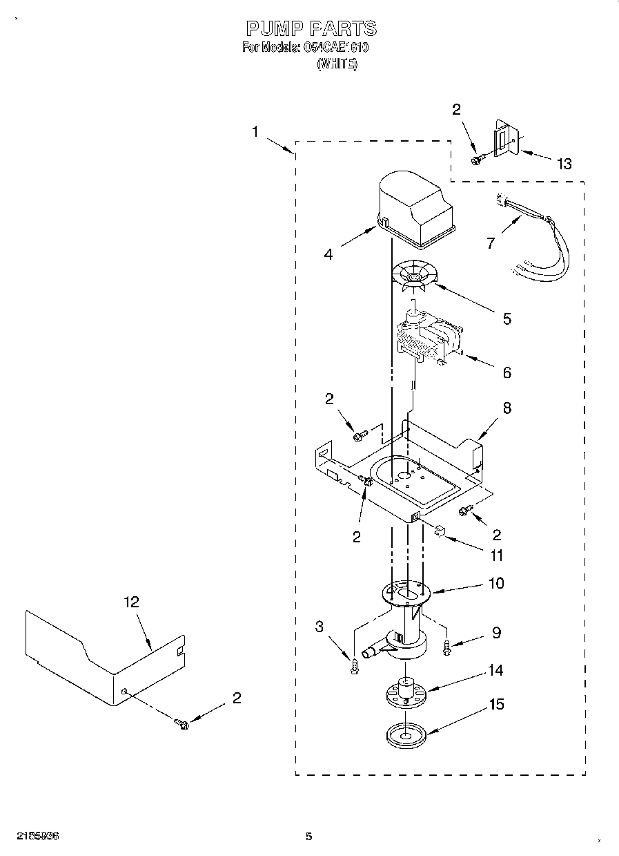
O54CAE1610 03 – PUMP