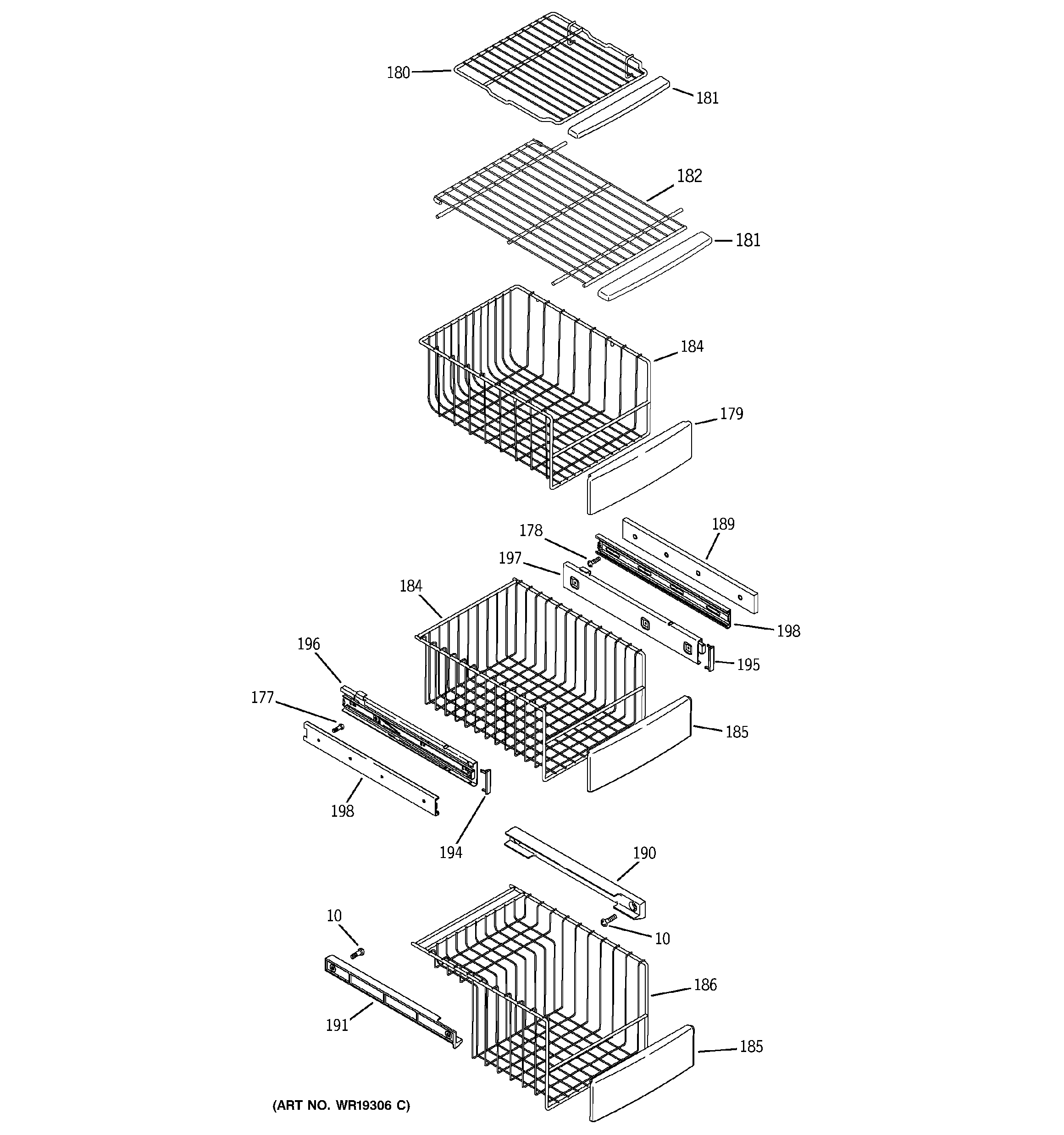
PCE23NGTCFSS FREEZER SHELVES