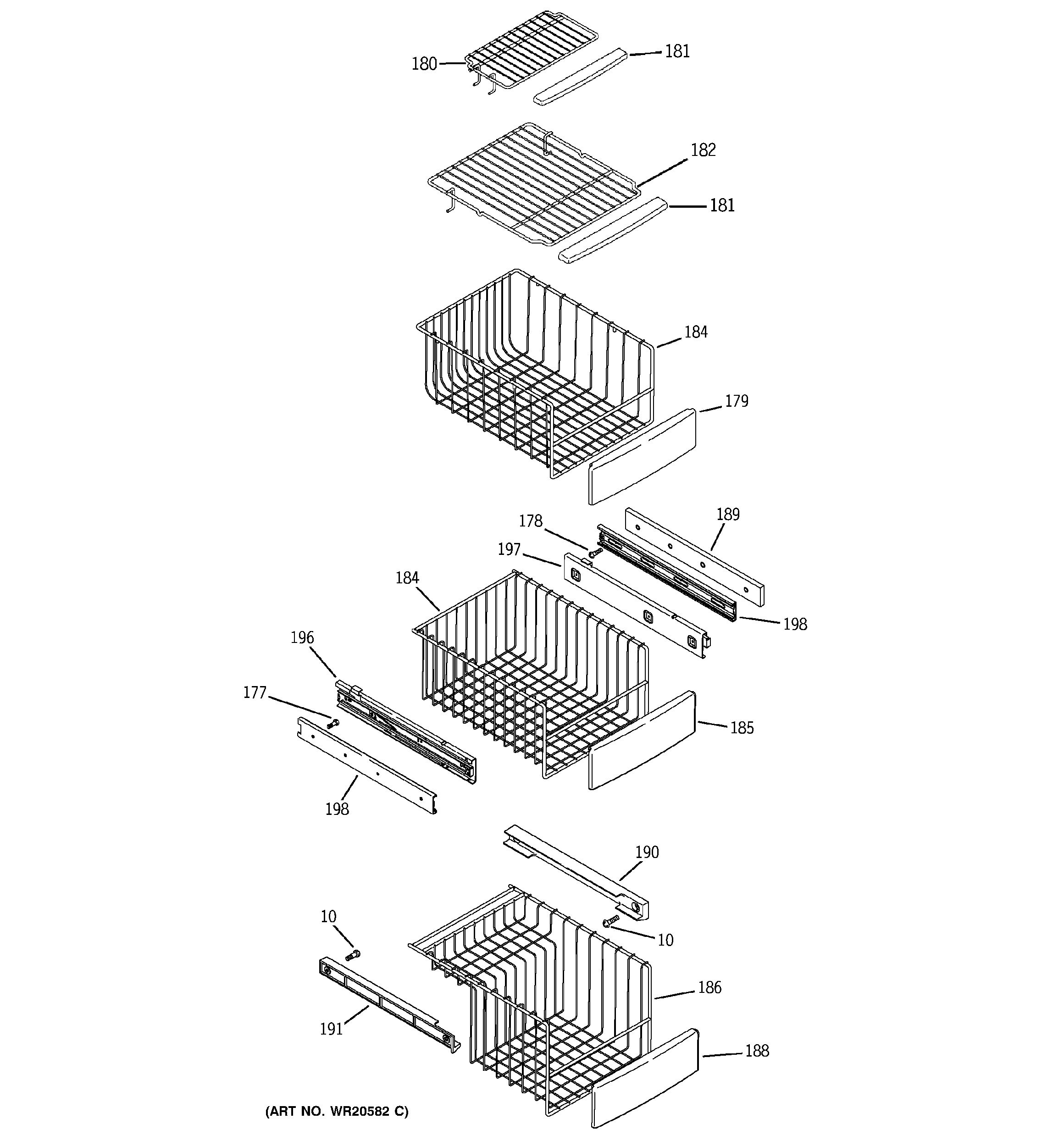
PCE23NGTMFWW FREEZER SHELVES