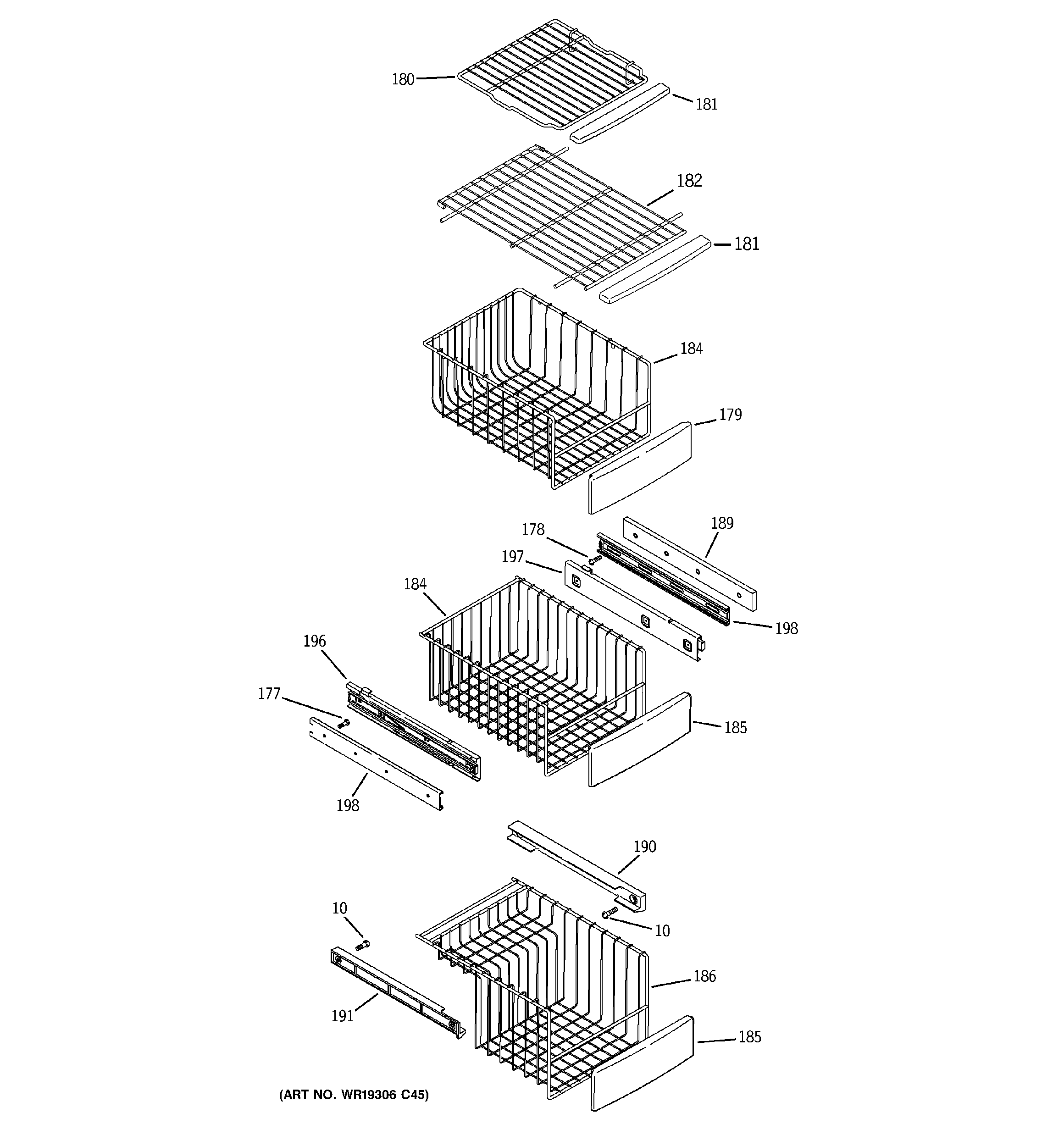
PCE23VGXGFSS FREEZER SHELVES