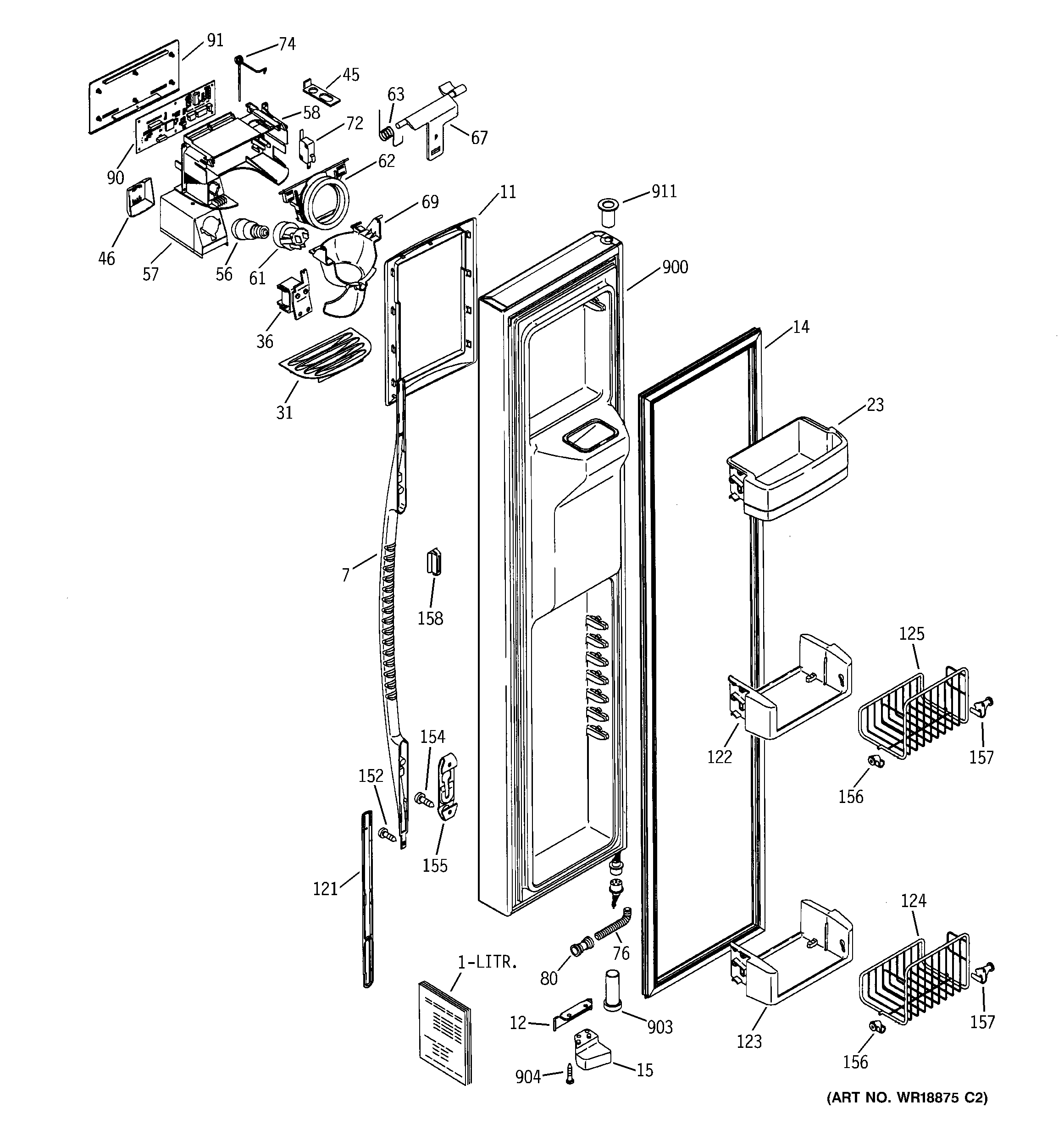
PCG23NHMAFBB FREEZER DOORadmin2025-04-26T12:31:44+00:00PCG23NHMAFBB FREEZER DOOR ProductsPositionProduct1GEN 49-601527GEN WR12X1043011WR38X10237 GE Refrigerator Black Recess Trim12WR02X13425 GE Refrigerator Door Stop14WR24X20455 GE Refrigerator Freezer Door Gasket15WR02X10780 GE Refrigerator Cam Closure23GEN WR71X1035531WR17X11655 GE Refrigerator Grille Recess Black36WR62X10055 GE Refrigerator Dispenser Door Solenoid Assembly45WR2X8818 GE Refrigerator Retainer46GEN WR02X1096956WR01X37886 GE Refrigerator Dispenser Light57WR02X10670 GE Refrigerator Reflector Light58WR17X11170 GE Refrigerator Housing Shield Dispenser61WR2X9561 GE Refrigerator Lamp Socket62WR17X11653 GE Refrigerator Ice Door Flap Assembly63WR02X10585 SPRING RECES67WR17X10706 GE Refrigerator Door Crank Recess69GEN WR17X1104072WR23X10783 GE Refrigerator Dispenser Micro Switch74GEN WR02X1058476GEN WR02X893380WR02X11330 GE Refrigerator 5/16 Union Water Line Connector90GEN WR55X1006391GEN WR55X10119121GEN WR12X10429122WR71X10256 GE Refrigerator Module Support123GEN WR71X10358124WR21X10111 GE Refrigerator Basket Wire TILTOUT125WR21X10110 GE Refrigerator Basket Wire TILTOUT152GEN WR01X10038154SCR 8-18 AB RNT20 5/8 S155WR02X10643 GE Refrigerator Handle Lock Bracket156GEN WR13X10130157GEN WR13X10131158GEN WR02X10646900GEN WR78X10433903WR01X10234 GE Freezer Bottom Thimble Door (Black)904WR01X10610 GE Refrigerator Screw 10-32 GX PNT20 1 S L911WR01X10956 GE Door Thimble