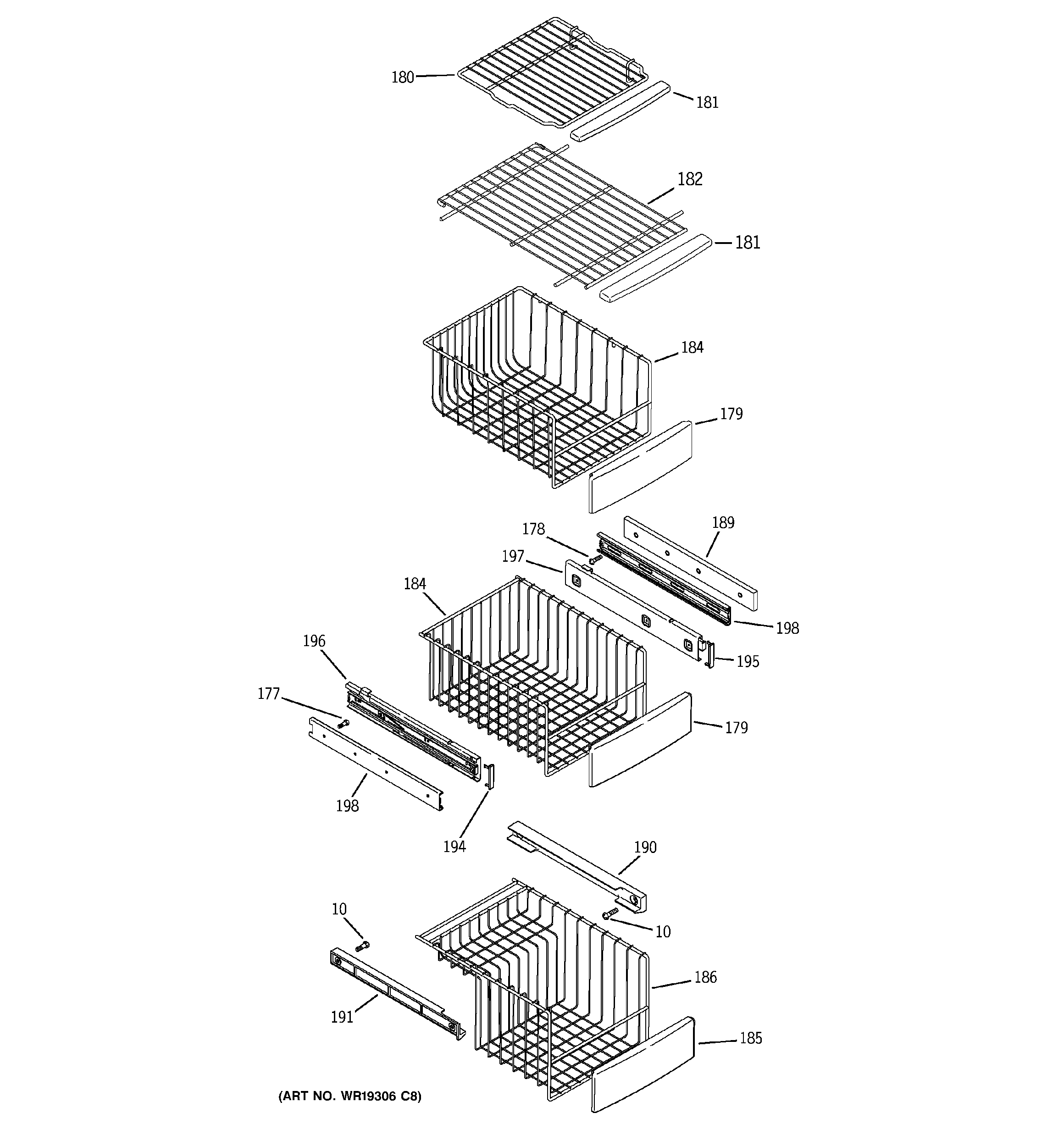
PCG23NHSBFWW FREEZER SHELVES