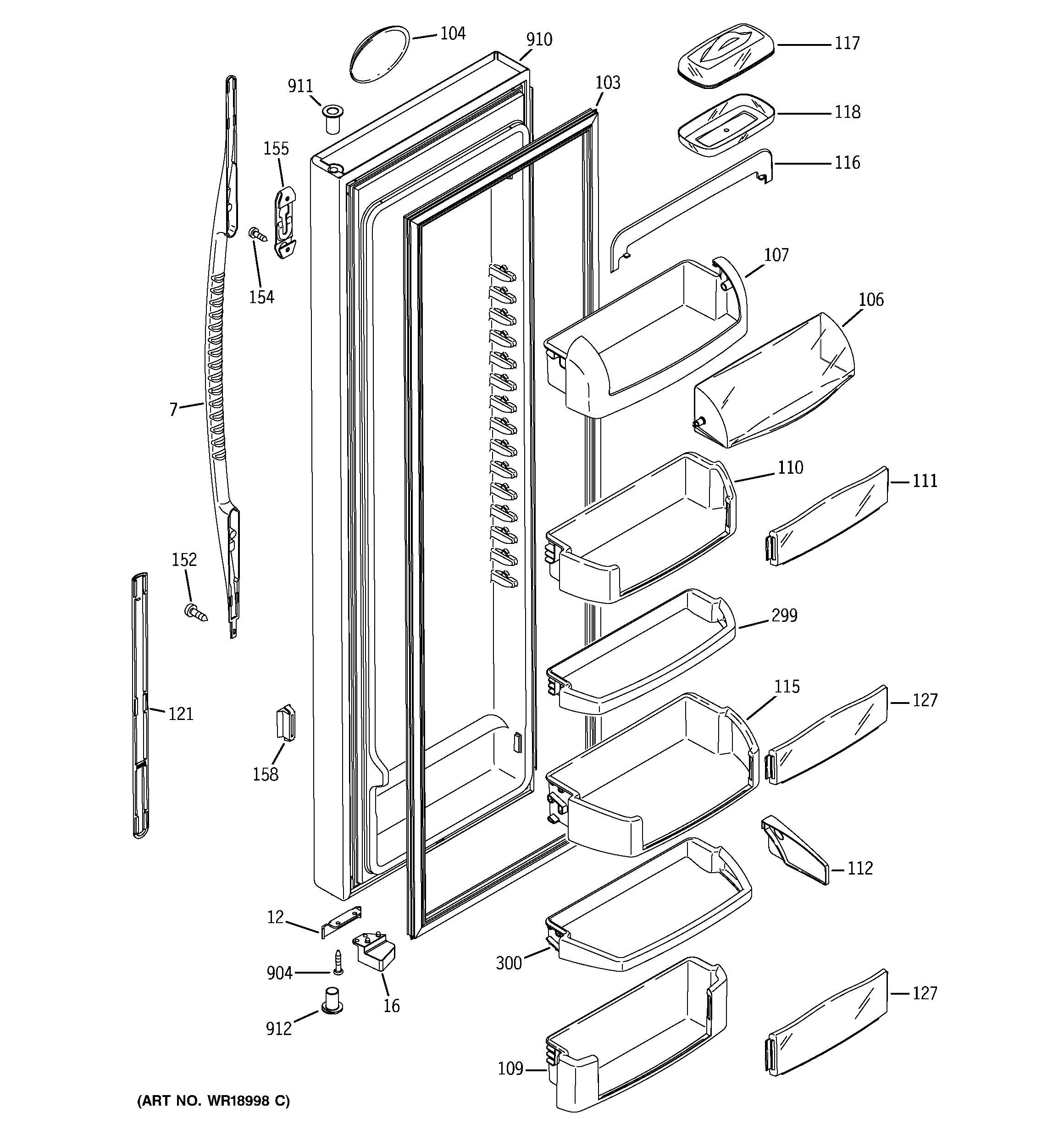
PCG23SIMFFBS FRESH FOOD DOORadmin2025-04-26T12:29:55+00:00PCG23SIMFFBS FRESH FOOD DOOR ProductsPositionProduct7GEN WR12X1043012WR02X13425 GE Refrigerator Door Stop16WR02X10779 GE Refrigerator Door Closure Cam103WR24X20456 GASKET104GEN WR04X10111106GEN WR22X10022107GEN WR22X10021109WR71X10979 GE Refrigerator Module Shelf Fresh Food110WR71X10297 GE Refrigerator Shelf Module111WR71X10788 GE Refrigerator Fixed Insert Module112WR02X10582 GE Refrigerator Modu Snug R115WR71X10973 GE Refrigerator Door Shelf Bin116GEN WR22X10023117WR22X10059 GE Refrigerator Butter Dish Lid118GEN WR22X10018121GEN WR12X10429127WR71X10764 GE Door Shelf Insert Module152GEN WR01X10038154SCR 8-18 AB RNT20 5/8 S155WR02X10643 GE Refrigerator Handle Lock Bracket158GEN WR02X10646299WR71X10376 GE Bottle Retainer300GEN WR71X10360904WR01X10611 GE Screw910GEN WR78X10449911WR01X10956 GE Door Thimble912WR01X10232 GE Refrigerator Door Thimble