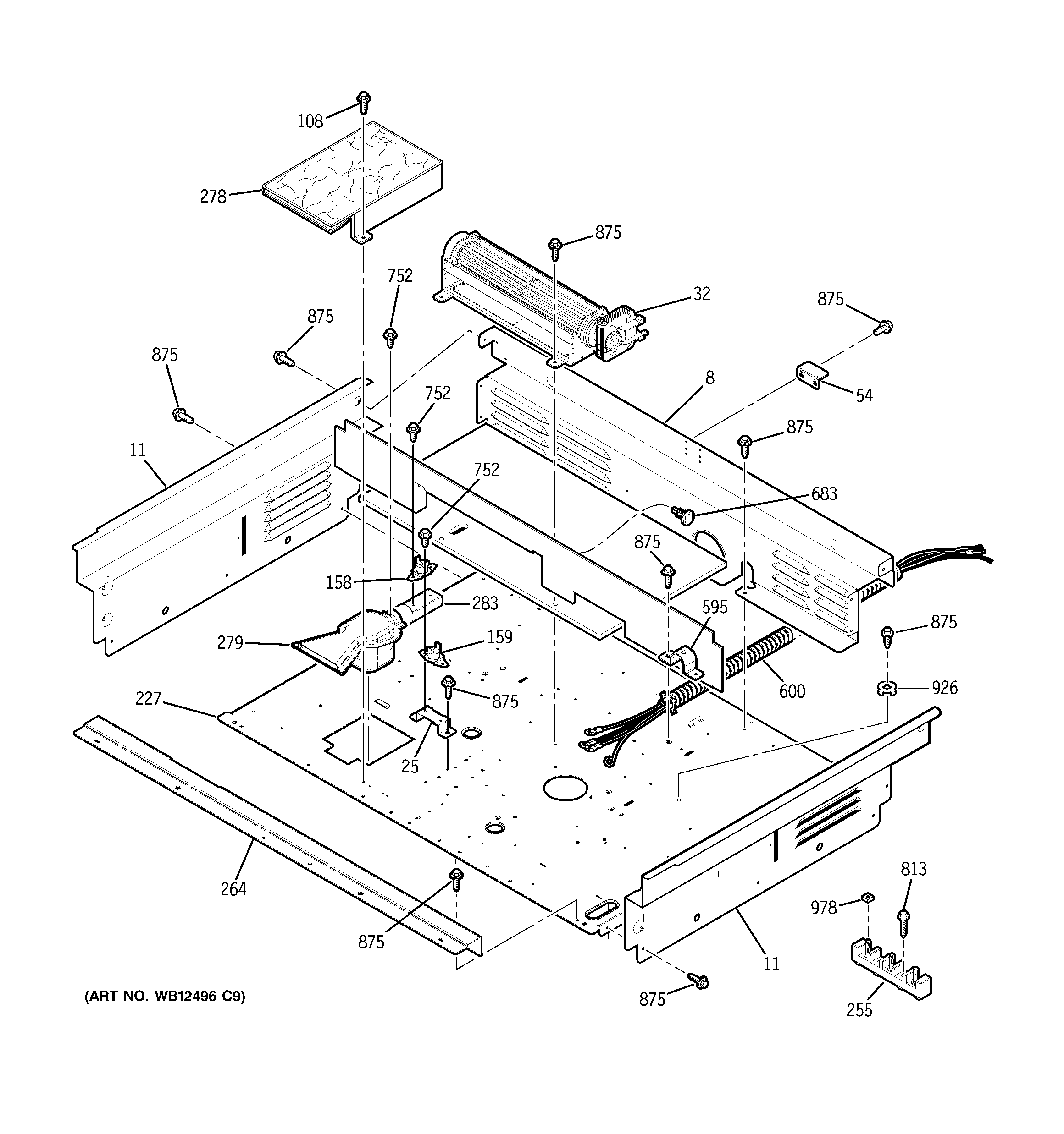
PD900DP2CC COOLING FAN