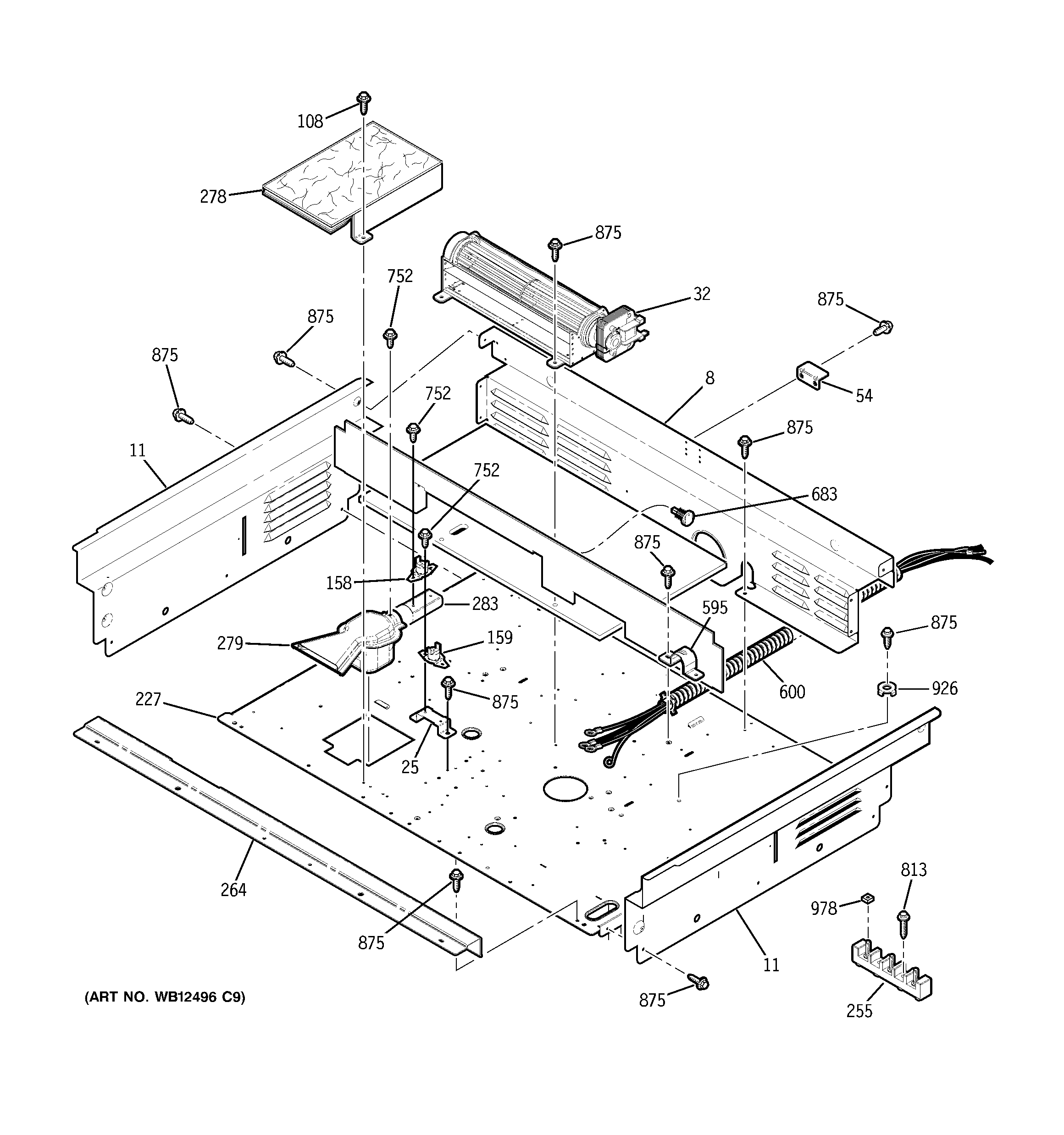
| 8 | GEN WB07K10137 |
| 11 | WB07T10497 GE Oven Side Extension Right |
| 11 | WB07T10498 GE Oven Side Extension Left |
| 25 | GEN WB02K5238 |
| 32 | WB26T10039 GE Oven Blower Assembly |
| 54 | WB02X10739 GE Oven Anti-Tip Bracket |
| 108 | WB1X5364 GE Oven Mounting Screw |
| 158 | WB24T10079 GE Oven Limit Switch |
| 159 | WB24T10060 GE Oven Safety Thermostat |
| 227 | WB02T10343 GE Ran Insulation Retainer - Lower |
| 255 | WB17K10001 GE Oven Block Terminal |
| 264 | WB07T10496 GE Oven Trim Assembly |
| 278 | WB34T10059 GE Vent Shield Assembly |
| 279 | WB38T10019 GE Oven Vent Box Assembly |
| 283 | WB28T10075 GE Oven Vent Inlet Duct |
| 595 | WB2K5126 GE Oven Condenser Clamp |
| 600 | GEN WB18K10012 |
| 683 | WR02X10562 GE Push Fastener |
| 752 | WB1K5200 GE Oven Screw 340531 |
| 813 | WB1X1261 GE Oven Screw |
| 875 | WH2X930 GE Screw |
| 875 | WZ4X245D GE Screw Package |
| 926 | GROUND WASHER |
| 978 | WB1X1259 GE Hex Nut |