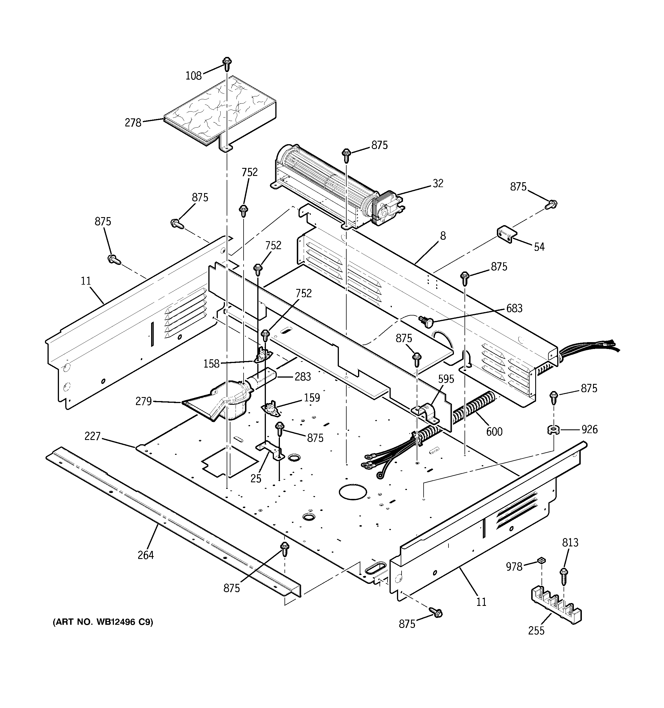
PD900DP3BB COOLING FAN