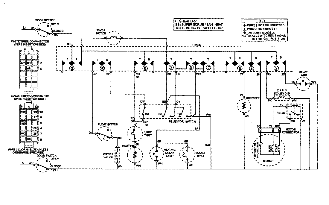
PDB2420BWE 07 – WIRING INFORMATIONadmin2025-04-26T09:38:11+00:00PDB2420BWE 07 – WIRING INFORMATION ProductsPositionProductNIMAY 15002467