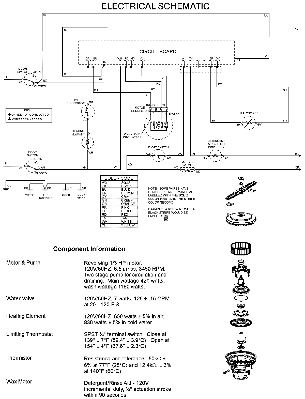
PDBL290AWX 08 – WIRING INFORMATIONadmin2025-04-26T09:40:22+00:00PDBL290AWX 08 – WIRING INFORMATION ProductsPositionProductNIMAY 15003746