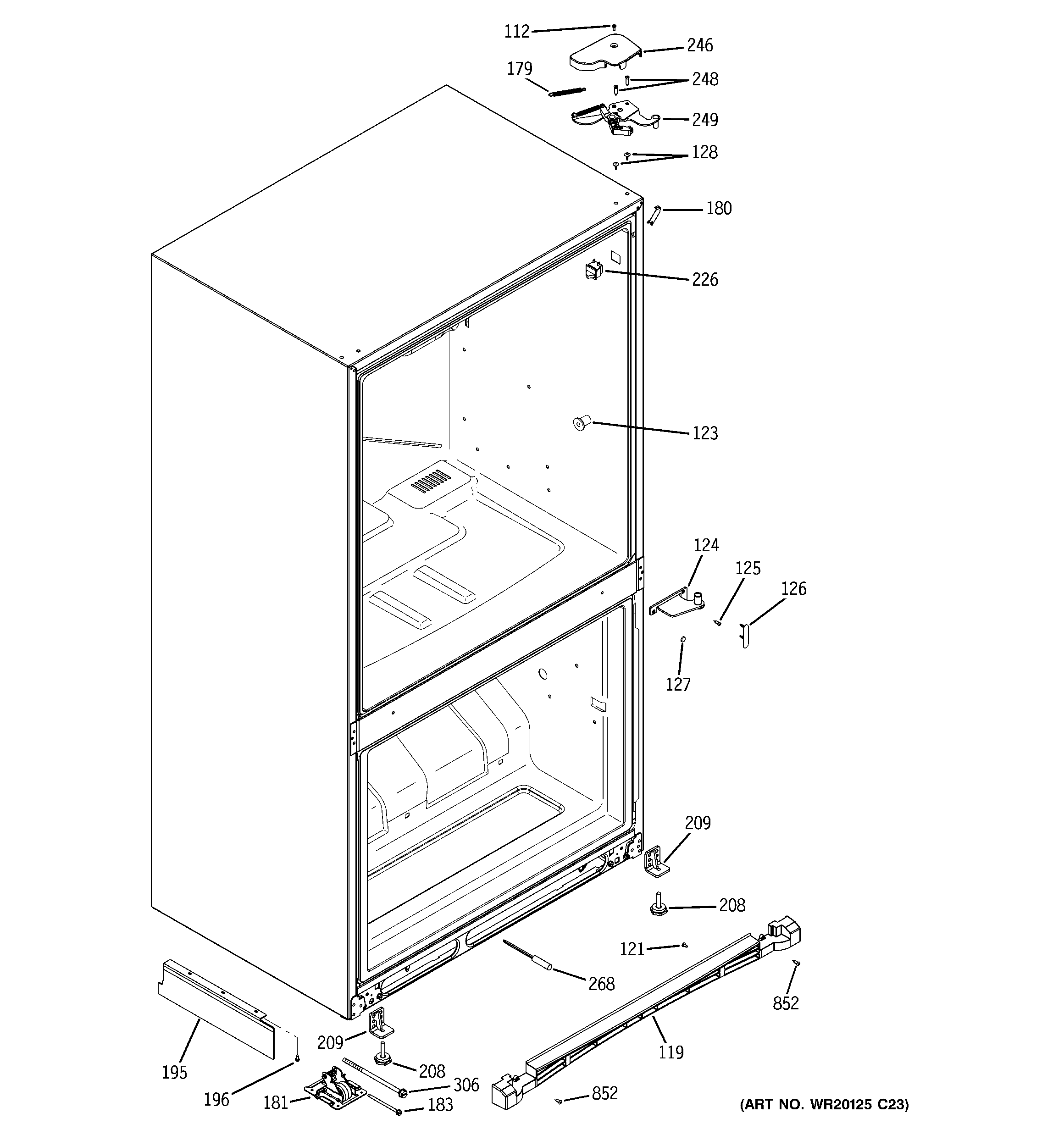
| 112 | WR01X10379 GE Refrigerator Hinge Cover Screw |
| 119 | GRILLE BASE COVER |
| 121 | WR01X10918 GE Refrigerator 12-24 Tapping Screw OVT 1.000" |
| 123 | WR02X12187 GE Refrigerator Support Shelf |
| 124 | WR13X10436 GE Center Full Hin Assembly Rh |
| 125 | WR01X10690 GE Refrigerator Screw 12-24 TT HXT20 .90 S |
| 126 | GEN WR02X12381 |
| 127 | SCREW COVER BK |
| 128 | WR02X13048 GE Plug Cover |
| 179 | WR01X10827 GE Refrigerator Closure Spring |
| 180 | CAP CORNER OC |
| 181 | GEN WR02X12334 |
| 183 | WR01X10210 GE Refrigerator Mobility Screw |
| 195 | WR17X12382 GE Air Separator Hinge Side |
| 196 | WR01X10588 GE Refrigerator Screw 8-18 AB IHXW 9/16 S |
| 208 | WR01X10686 GE Refrigerator Leveling Screw |
| 209 | WR02X12378 GE Leg Assembly Bracket |
| 226 | WR23X37285 GE Light Switch |
| 246 | COVER HINGE TOP RH |
| 248 | WR01X10792 GE Refrigerator Screw 12-24 TT HX 7/8 S |
| 249 | HINGE CLOSURE ASM |
| 268 | WR55X10025 GE Refrigerator Temperature Sensor |
| 306 | WR02X12271 GE Refrigerator Mobility Screw |
| 852 | WR01X10858 GE Refrigerator Screw 8-18 AB PNP 5/8 S |