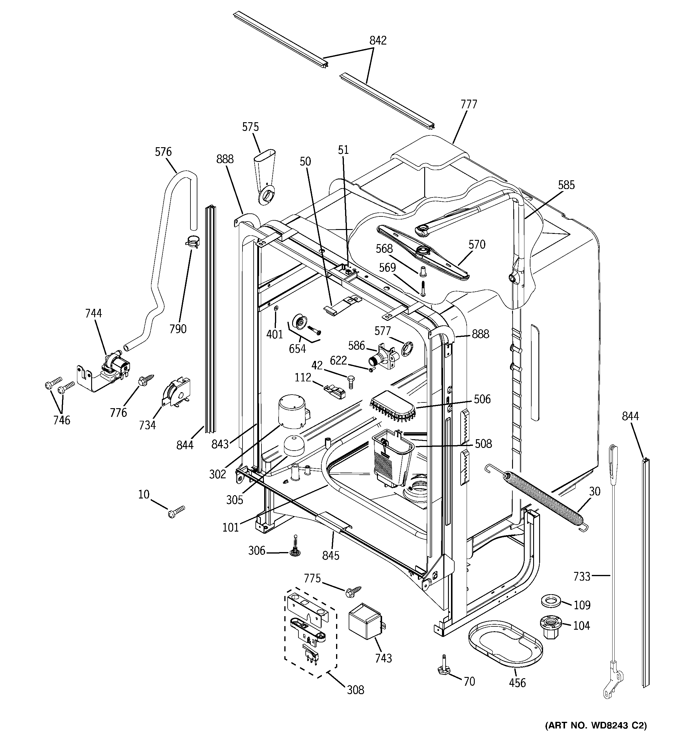
| 10 | WR01X10065 GE Screw |
| 30 | GEN WD03X10032 |
| 42 | SCREW #8-3/4 L HX HD SS |
| 50 | GEN WD13X10019 |
| 51 | WD02X10066 GE Dishwasher Screw 10-24 x 1/2 TT TRR S |
| 70 | WD2X320 GE Dishwasher Leveling Leg |
| 101 | GEN WD05X10005 |
| 104 | GEN WD01X10097 |
| 109 | GEN WD01X10094 |
| 112 | GEN WD01X10283 |
| 302 | WD12X10051 GE Dishwasher Float Dome C02 |
| 305 | WD12X10047 GE Dishwasher Float |
| 306 | WD12X10048 GE Dishwasher Float Stem Assembly |
| 308 | GEN WD21X10168 |
| 401 | WD3X767 GE Dishwasher Washer |
| 456 | GEN WD01X10106 |
| 506 | WD22X10077 GE Dishwasher Sump and Cover Filter Assembly |
| 568 | WD01X10410 GE Dishwasher Spray Arm Bearing Assembly |
| 569 | GEN WD02X10068 |
| 570 | GEN WD22X10045 |
| 575 | WD12X22722 GE Dishwasher Fill Funnel |
| 576 | GEN WD24X10026 |
| 577 | WD08X10020 GE Dishwasher Fill Funnel Gasket |
| 585 | GEN WD12X10057 |
| 586 | GEN WD12X10059 |
| 622 | WD02X10067 GE Dishwasher Stainless Steel Screw 8-16 HXW |
| 654 | WD12X332 GE Dishwasher Rack Roller |
| 733 | GEN WD01X10348 |
| 734 | GEN WD16X10009 |
| 743 | WD12X448 GE Dishwasher Junction Box |
| 744 | WD15X10014 GE Dishwasher Water Inlet Fill Valve |
| 746 | WD2X248 GE Dishwasher Screw |
| 775 | WD2X5166 GE Dishwasher Screw |
| 776 | GEN WZ05X0222 |
| 777 | WD01X10550 GE Dishwasher Insulation Tub Blanket |
| 790 | WH1X2036 GE UNIX Clamp |
| 842 | GEN WD08X10025 |
| 843 | GASKET TUB |
| 844 | GEN WD08X10026 |
| 845 | WD08X10075 GE Dishwasher Bottom Door Gasket Seal |
| 888 | WX13X10001 GE Countertops Bracket Kit Non-Wood |