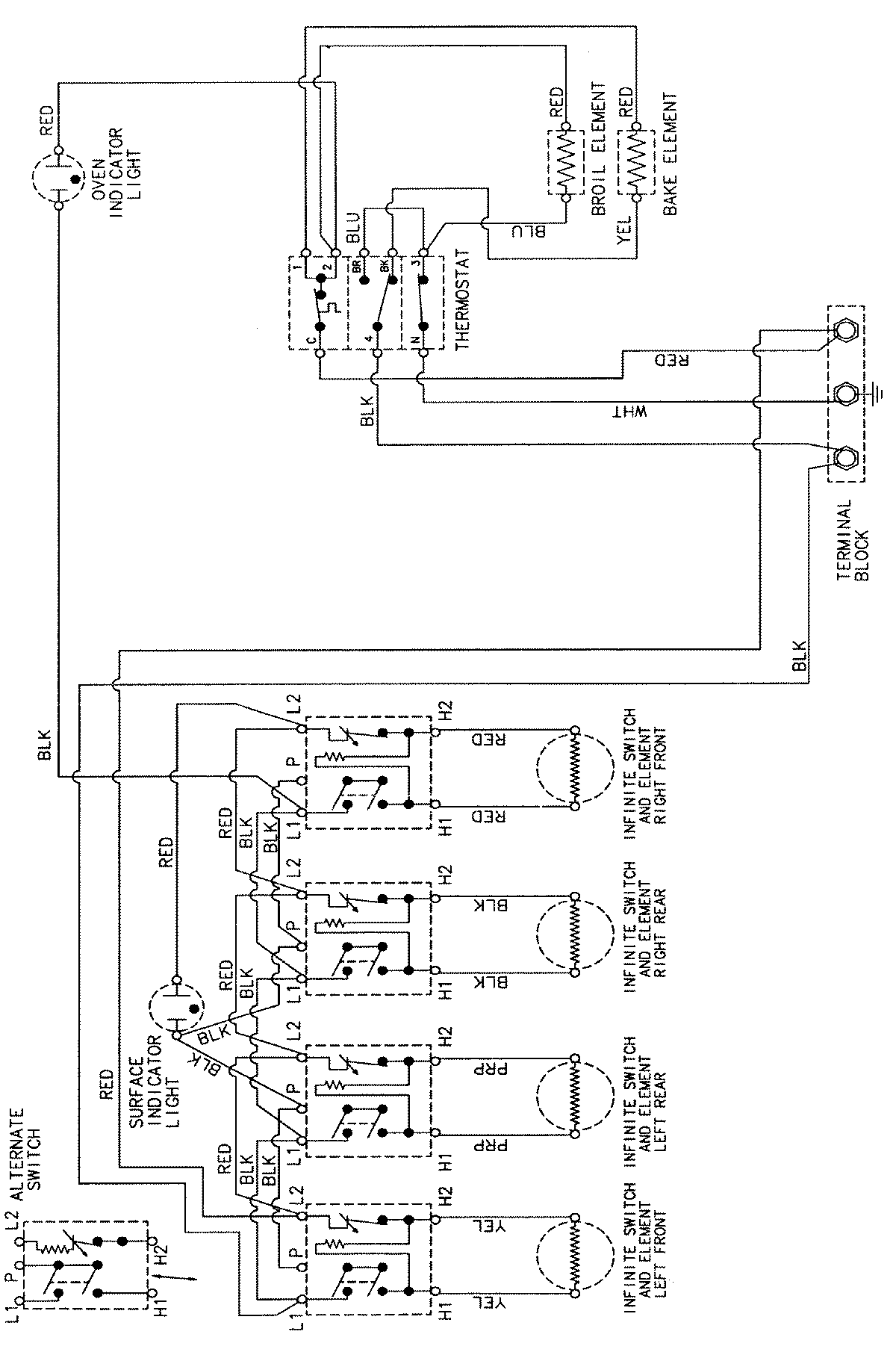
PER4100BAW 06 – WIRING INFORMATIONadmin2025-04-26T09:40:52+00:00PER4100BAW 06 – WIRING INFORMATION ProductsPositionProductNIMAY 15002208