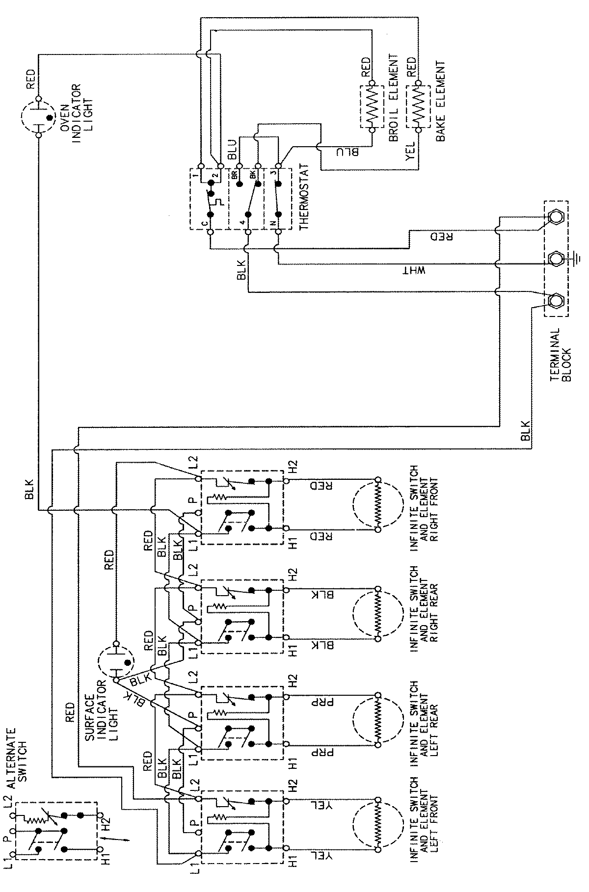
PER4102BAH 06 – WIRING INFORMATIONadmin2025-04-26T09:43:19+00:00PER4102BAH 06 – WIRING INFORMATION ProductsPositionProductNIMAY 15002208