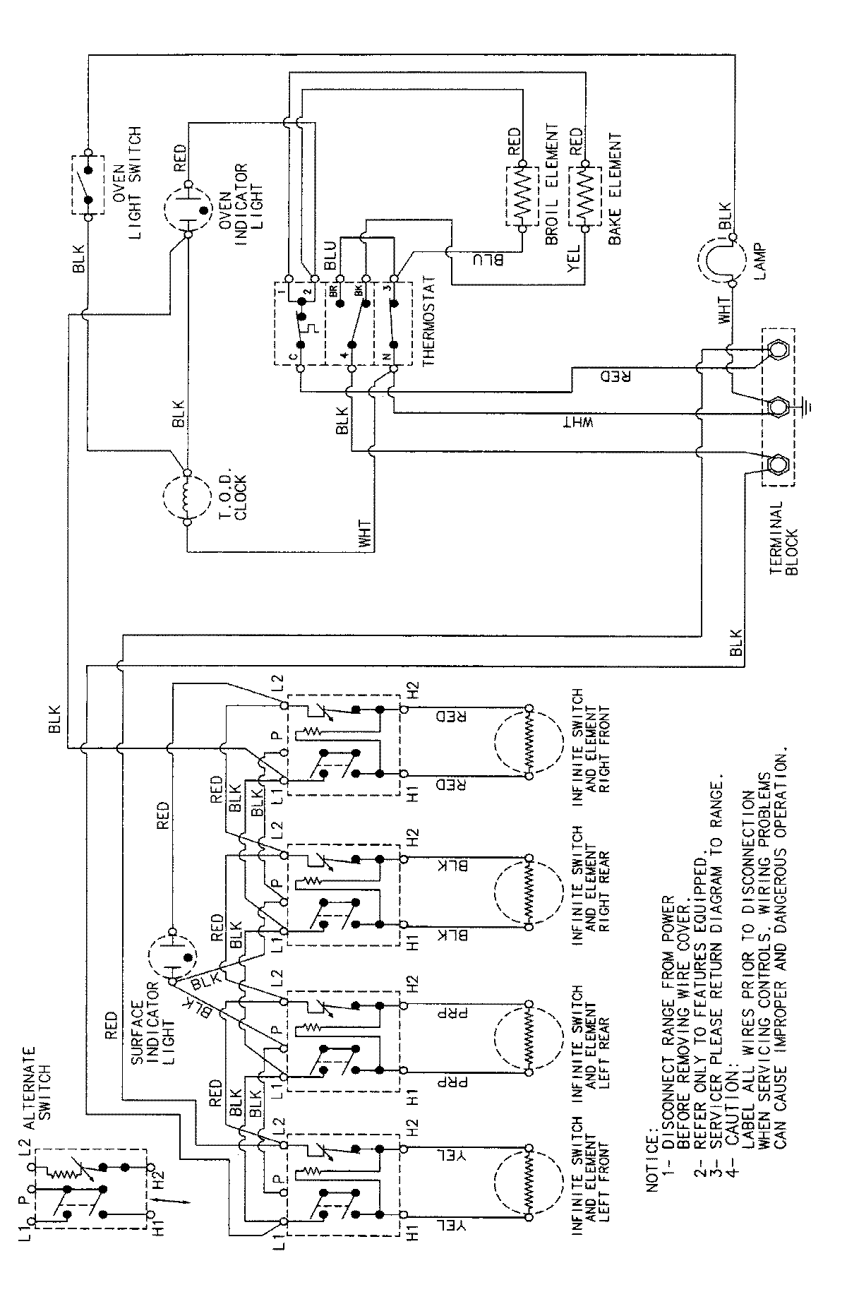
PER4310BAW 06 – WIRING INFORMATIONadmin2025-04-26T09:43:13+00:00PER4310BAW 06 – WIRING INFORMATION ProductsPositionProductNIMAY 15002214