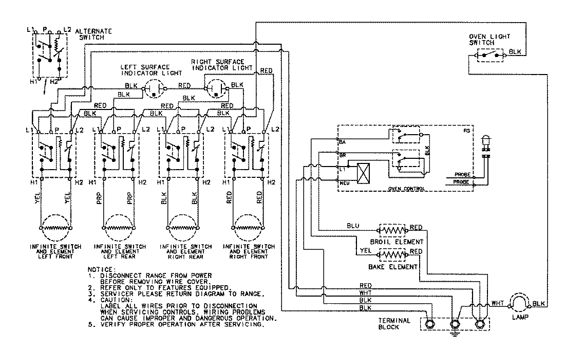
PER4510AAQ 06 – WIRING INFORMATIONadmin2025-04-26T09:40:58+00:00PER4510AAQ 06 – WIRING INFORMATION ProductsPositionProductNIMAY 15002661