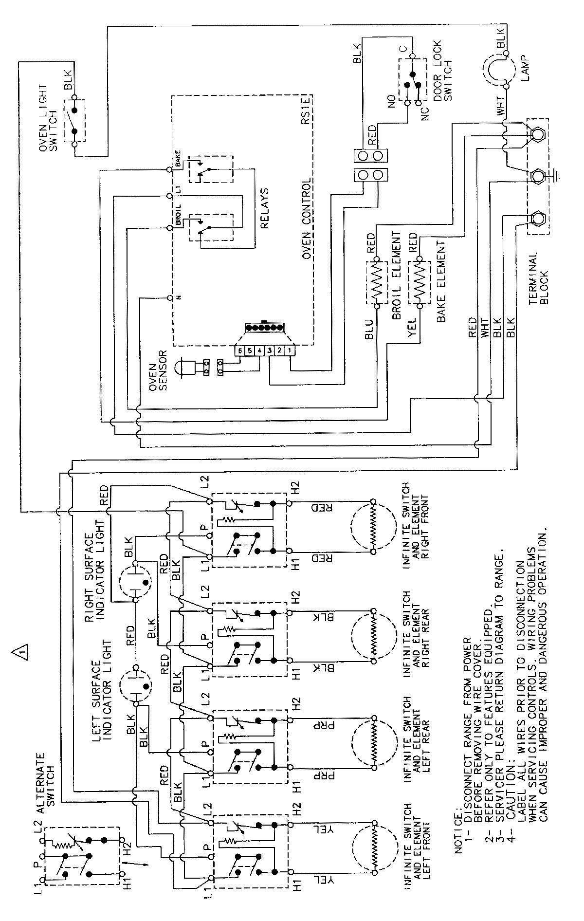
PER5510AAQ 06 – WIRING INFORMATIONadmin2025-04-26T09:43:23+00:00PER5510AAQ 06 – WIRING INFORMATION ProductsPositionProductNIMAY 15002263