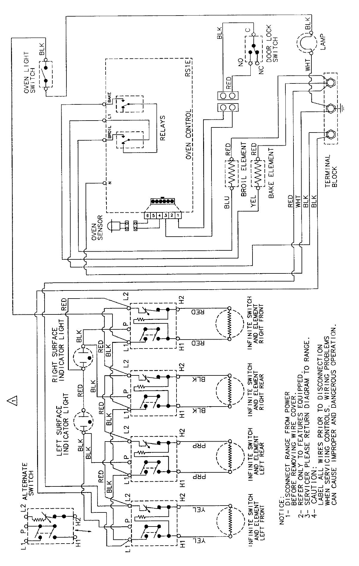
PER5510AAW 06 – WIRING INFORMATIONadmin2025-04-26T09:40:30+00:00PER5510AAW 06 – WIRING INFORMATION ProductsPositionProductNIMAY 15002263