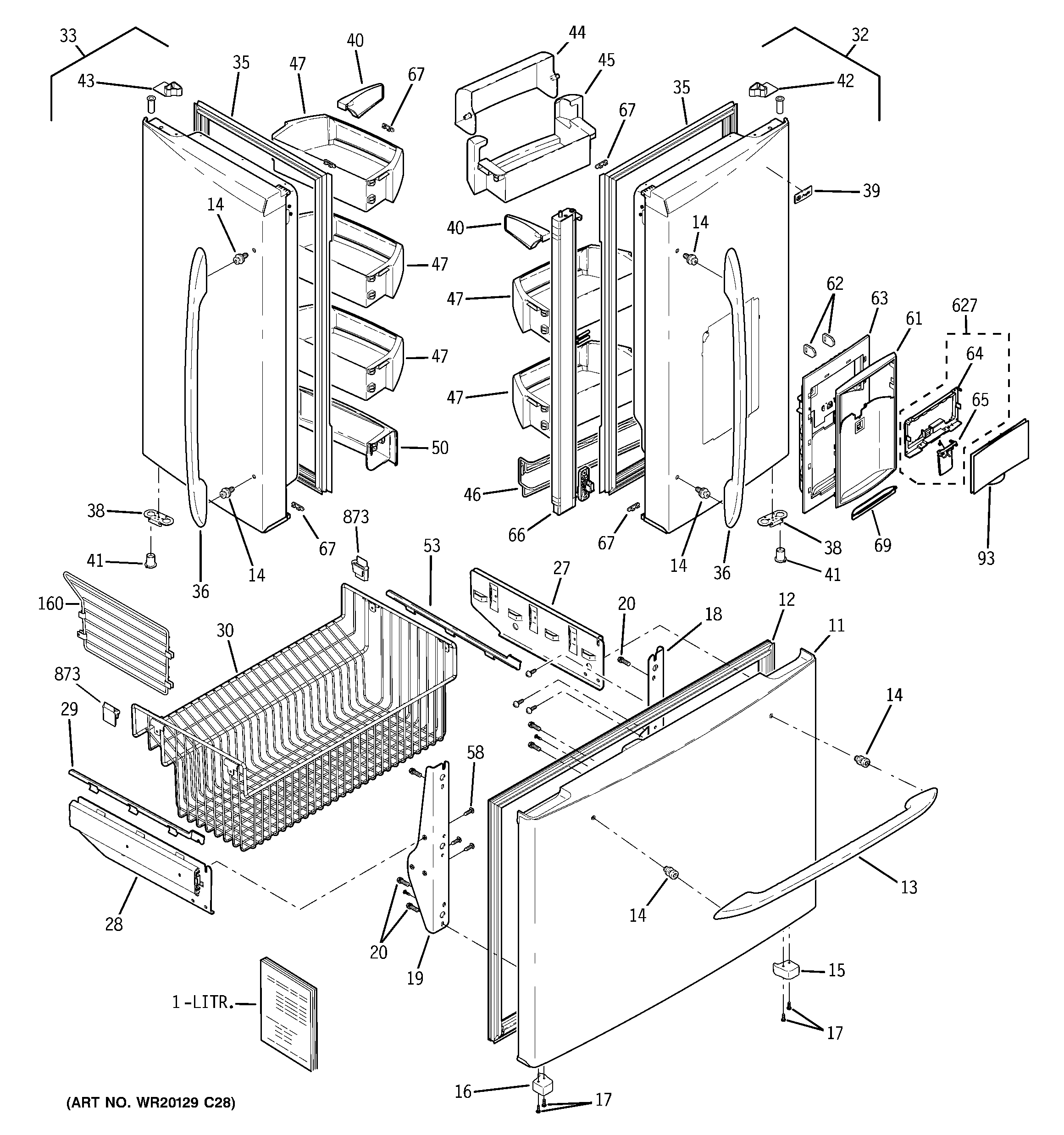
PFCE1NJWADSS DOORS