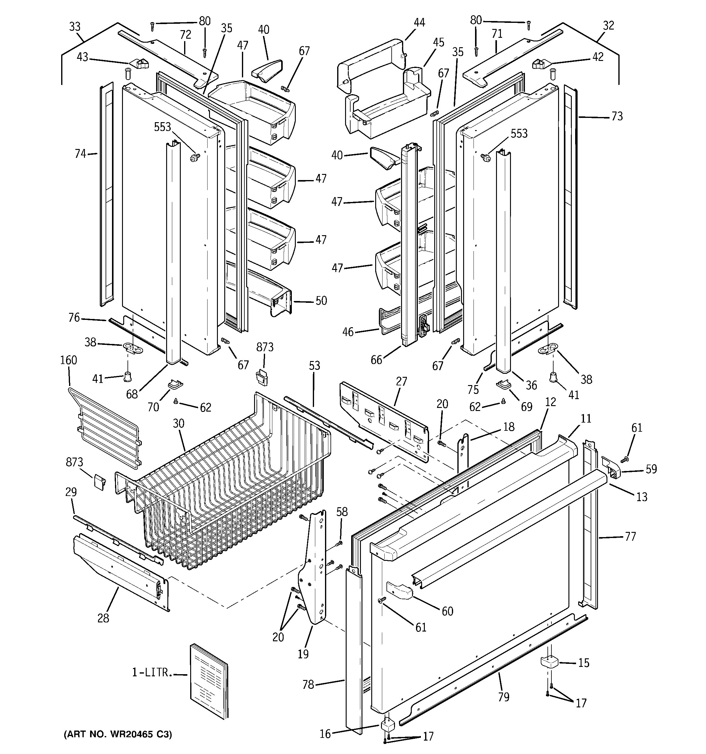
PFIE1NFYCAKB DOORS