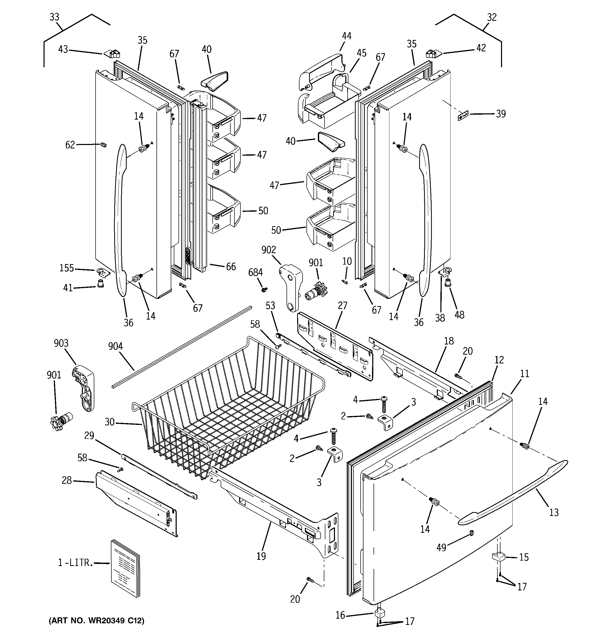
PFSS0MFCA SS DOORS